- Partiron
- OEM Parts
- Yamaha
- snowmobile
- 1985
- ET340TJ (ENTICER 340T (LONG TRACK)) 1985
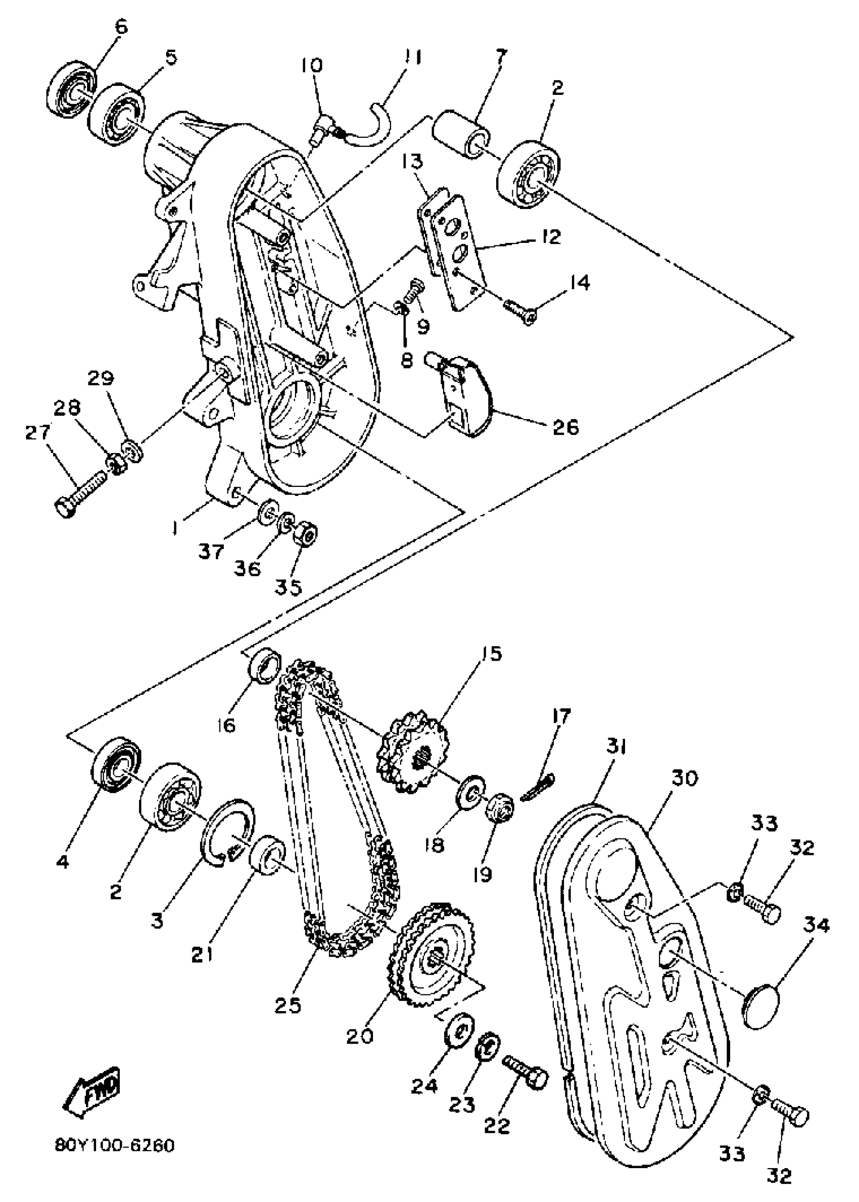
TRACK DRIVE 2 ET340TK
Yamaha ET340TJ (ENTICER 340T (LONG TRACK)) 1985 TRACK DRIVE 2 ET340TK Diagram
#
1
HOUSING, CHAIN
8F3-47541-00-00
Unavailable
2
BRG,R-B 6304 52MM 144G NT
93306-30407-00
Unavailable
7
COLLAR
90387-20580-00
Unavailable
12
PLATE
8G8-47591-00-00
Unavailable
13
GASKET
85T-47592-00-00
Unavailable
15
UNAVAILABLE IN PRICE BOOK (13T)
802-17672-40-00
Unavailable
15
SPROCKET, CHAIN DRIVE (11T)
802-17682-20-00
Unavailable
15
SPROCKET, CHAIN DRIVE (12T)
806-17682-20-00
Unavailable
15
SPROCKET, CHAIN DRIVE (14T)
806-17682-40-00
Unavailable
16
COLLAR
90387-19649-00
Unavailable
17
PIN, COTTER(6L5)
91490-25030-00
Unavailable
18
WASHER, PLATE (35T)
90201-122H1-00
Unavailable
19
NUT, SELF LOCKING (23X)
90185-12119-00
Unavailable
20
SPROCKET, CHN DRVN
8G8-47548-10-00
Unavailable
20
SPROCKET, CHN DRVN
8G8-47548-20-00
Unavailable
20
SPROCKET, CHN DRVN
8G8-47548-30-00
Unavailable
21
COLLAR
90387-20155-00
Unavailable
22
BOLT (682)
97013-08025-00
Unavailable
23
WASHER(JN5)
92907-08100-00
Unavailable
24
WASHER, PLATE (4W3)
90201-086A3-00
Unavailable
25
CHAIN 60L
94880-01060-00
Unavailable
26
TENSIONER
8G8-47611-00-00
Unavailable
27
BOLT, HEXAGON (8F3)
90101-10357-00
Unavailable
28
NUT (682)
95380-10700-00
Unavailable
29
WASHER SEAL 256111730200
90210-10004-00
Unavailable
30
CAP, HOUSING
8F3-47543-00-00
Unavailable
31
RING, HOUSING (97302-08020)
8F3-47558-00-00
Unavailable
32
BOLT, HEXAGON
97013-08020-00
Unavailable
33
WASHER (821)
90210-08002-00
Unavailable
34
CAP
148-22315-00-00
Unavailable
35
NUT(6L2)
95333-08600-00
Unavailable
36
YBS67-8 WASHER, SPRING
92990-08100-00
Unavailable
37
WASHER, PLAIN
92990-08200-00
Unavailable
