Yamaha ET340TJ (ENTICER 340T (LONG TRACK)) 1985 CARBURETOR Diagram
#
Description
Price
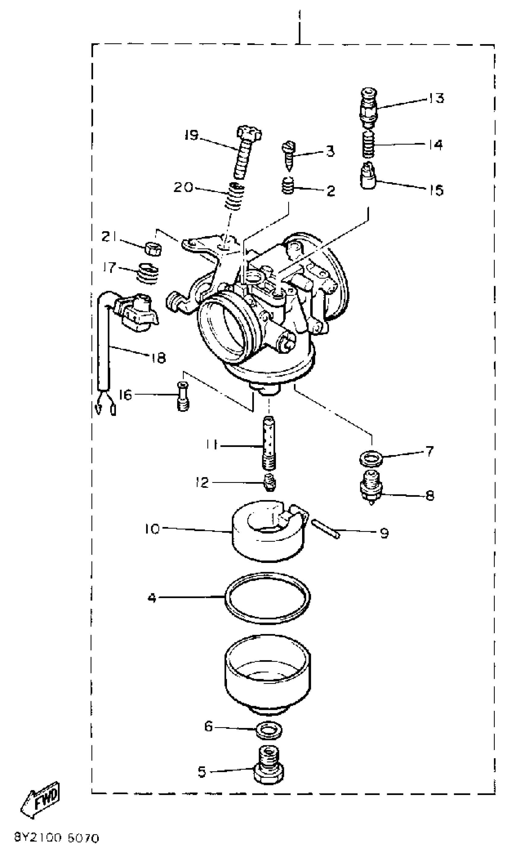
1
CARBURETOR ASSEMBLY
80E-14101-02-00
Unavailable
2
. SPRING, AIR ADJUSTING (TJ)
8M6-14134-00-00
Unavailable
3
SCREW, PILOT ADJUSTING
7R5-14211-00-00
Unavailable
11
. NOZZLE, MAIN
8Y2-14941-4A-00
Unavailable
12
JET,MAIN #122.5
3G2-1423A-75-A1
Unavailable
12
JET,MAIN #132.5
3G2-1423A-77-00
Unavailable
12
. JET, MAIN (#1288)
8V0-1423E-51-00
Unavailable
13
CAP, PLUNGER
8G8-14174-00-00
Unavailable
14
SPRING, PLUNGER
127-14135-00-00
Unavailable
15
PLUNGER, STARTER
8G8-14171-00-00
Unavailable
16
JET, PILOT (# 95)
193-14142-95-00
Unavailable
17
SPRING, THROTTLE STOP
8X0-14133-00-00
Unavailable
18
SWITCH, CARBURETOR
87S-8259A-01-00
Unavailable
19
. SCREW, THROTTLE
8X0-14122-01-00
Unavailable
20
SPRING
8X0-14500-00-00
Unavailable
21
NUT
8X0-14358-00-00
Unavailable
