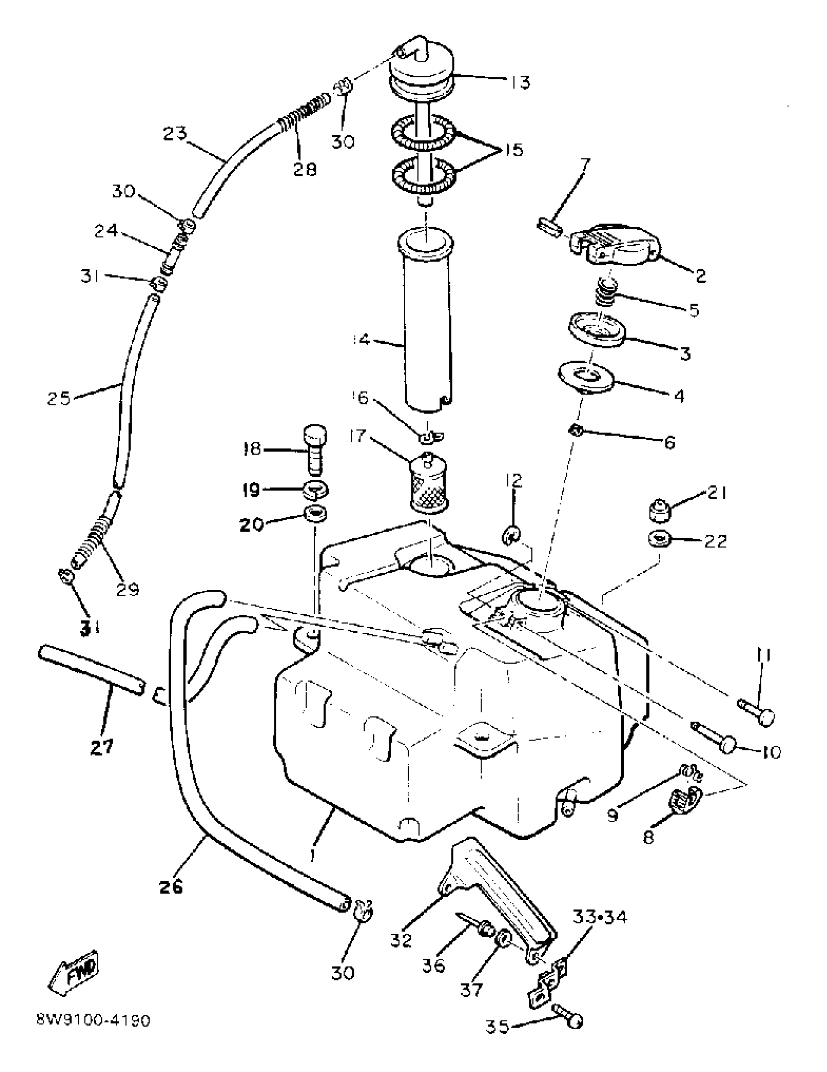
Yamaha ET340TH (ENTICER 340T (LONG TRACK)) 1984 FUEL TANK Diagram
#
1
FUEL TANK
8W6-24111-00-00
Unavailable
2
BODY, CAP
8W6-24611-00-00
Unavailable
6
PIN, SPRING
91690-30016-00
Unavailable
9
SPRING, TORSION(81E)
90508-10715-00
Unavailable
11
PIN (8W6)
90249-03175-00
Unavailable
14
PIPE, SUCTION 2
8V0-24336-00-00
Unavailable
16
CLIP (8J7)
90467-11009-00
Unavailable
17
FILTER ASSY
8H5-24560-00-00
Unavailable
18
BOLT, HEXAGON
97017-08025-00
Unavailable
19
YBS67-8 WASHER, SPRING
92990-08100-00
Unavailable
20
WASHER, PLATE (8L8)
90201-087A9-00
Unavailable
21
NUT, NYLON
95717-08300-00
Unavailable
22
WASHER, PLATE (8L8)
90201-087A9-00
Unavailable
23
TUBE, FLEXIBLE VINYL(86X)
91A20-07100-00
Unavailable
24
PIPE, JOINT 1
8Y4-24376-00-00
Unavailable
25
TUBE, FLEXIBLE VINYL(8AU)
91A20-05039-00
Unavailable
26
TUBE, FLEXIBLE VINYL(8AK)
91A20-05080-00
Unavailable
27
HOSE
90446-09015-00
Unavailable
28
PROTECTOR, PIPE
8F3-24326-00-00
Unavailable
29
SPRING, COMPRESSION(7MX)
90501-084J0-00
Unavailable
30
CLIP
90467-11028-00
Unavailable
31
CLIP (8A1)
90467-09026-00
Unavailable
32
GAUGE, FUEL
8W6-24179-00-00
Unavailable
33
BRACKET 1
8W6-77721-00-00
Unavailable
34
BRACKET 2
8W6-77722-00-00
Unavailable
35
SCREW
(97906-06314-00)
Unavailable
36
RIVET, BLIND (8H4)
90267-48053-00
Unavailable
37
WASHER, PLATE
90201-04027-00
Unavailable
