- Partiron
- OEM Parts
- Yamaha
- snowmobile
- 1979
- ET340EC 1979
TRACK - SUSPENSION
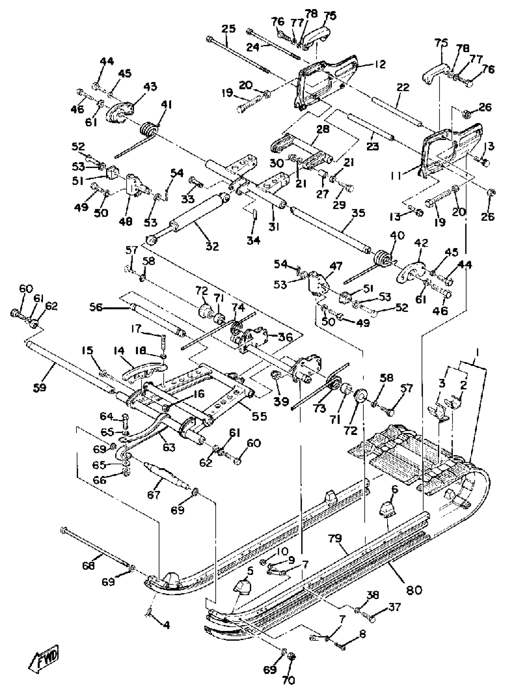
Yamaha ET340EC 1979 TRACK - SUSPENSION Diagram
#
1
TRACK ASSEMBLY
8G8-47110-00-00
Unavailable
3
METAL, SLIDE
8A5-47115-00-00
Unavailable
6
DAMPER 2
885-47457-00-00
Unavailable
7
PLATE, DAMPER
885-47458-01-00
Unavailable
13
BOLT, WITH WASHER
90119-08008-00
Unavailable
16
NUT, NYLON
95707-06300-00
Unavailable
17
SCREW PAN HEAD
98580-06020-00
Unavailable
18
WASHER, PLAIN (646)
92990-06600-00
Unavailable
19
BOLT, HEXAGON (8E3)
90101-10314-00
Unavailable
20
NUT (682)
95380-10700-00
Unavailable
21
WASHER (1T1)
90201-08649-00
Unavailable
22
COLLAR (899 SUSPENSION)
90387-08497-00
Unavailable
23
COLLAR (899 SUSPENSION)
90387-08496-00
Unavailable
24
BOLT, HEXAGON
97027-08250-00
Unavailable
25
BOLT (8M8)
90101-08374-00
Unavailable
26
NUT, NYLON
95717-08300-00
Unavailable
27
COLLAR (8A5 SUSPENSION)
90387-08508-00
Unavailable
28
BRACKET 3
8A5-47417-00-00
Unavailable
29
BOLT, HEXAGON
97013-08050-00
Unavailable
30
NUT, NYLON
95717-08300-00
Unavailable
31
ARM, PIVOT 2
8A5-47332-00-00
Unavailable
32
SHOCK ABSORBER
8E7-47480-01-00
Unavailable
33
PIN, CLEVIS(8N0)
90240-12115-00
Unavailable
34
PIN, COTTER
91490-30030-00
Unavailable
35
SHAFT 2
8A5-47475-02-00
Unavailable
36
BRACKET 2
8L4-47416-00-00
Unavailable
37
BOLT(21W)
97017-06035-00
Unavailable
38
WASHER, SPRING
92995-06100-00
Unavailable
39
NUT, NYLON
95707-06300-00
Unavailable
40
SPRING, TORSION 3(8E7)
90508-99331-00
Unavailable
41
SPRING, TORSION 4(8E7)
90508-99332-00
Unavailable
42
BRACKET, REAR 1
8A5-47425-00-00
Unavailable
43
BRACKET, REAR 1
8A5-47426-00-00
Unavailable
44
BOLT(JA9)
90101-08691-00
Unavailable
45
WASHER (688)
92990-08400-00
Unavailable
46
BOLT (8J7)
97013-10030-00
Unavailable
47
BRACKET 5
(8E3-47463-00-00)
Unavailable
48
BRACKET 6
(8E3-47464-00-00)
Unavailable
49
BOLT(21W)
97017-06035-00
Unavailable
50
WASHER, SPRING
92995-06100-00
Unavailable
51
HOOK 2
890-47447-00-00
Unavailable
52
PIN WITH HOLE (890)
90249-12113-00
Unavailable
53
WASHER, PLATE
90201-12047-00
Unavailable
54
PIN, COTTER
91490-30030-00
Unavailable
55
ARM, PIVOT 1
8X0-47331-00-00
Unavailable
56
SHAFT 3
8A5-47485-02-00
Unavailable
57
BOLT(N02)
97070-10035-00
Unavailable
58
YBS67-10 WASHER, SPRING
92990-10100-00
Unavailable
59
SHAFT 1
8A5-47465-02-00
Unavailable
60
BOLT (8J7)
97013-10030-00
Unavailable
61
WASHER, TTH
92907-10400-00
Unavailable
62
SPACER
885-47341-00-00
Unavailable
63
STOPPER 1
888-47495-02-00
Unavailable
64
BOLT(3RV)
97014-06035-00
Unavailable
65
WASHER, PLATE
90201-06747-00
Unavailable
66
NUT, NYLON
95707-06300-00
Unavailable
67
BRACKET 1
899-47415-00-00
Unavailable
68
BOLT (8M8)
90101-08374-00
Unavailable
69
.. WASHER, PLATE
92990-08600-00
Unavailable
70
NUT, NYLON
95717-08300-00
Unavailable
71
COLLAR
90387-30570-00
Unavailable
72
HOOK 1
8E7-47446-00-00
Unavailable
73
SPRING, TORSION
90508-70375-00
Unavailable
74
SPRING, TORSION
90508-70376-00
Unavailable
75
RUNNER, SLIDING
8E3-47422-00-00
Unavailable
77
WASHER, SPRING
92995-06100-00
Unavailable
78
WASHER, PLATE
90201-06020-00
Unavailable
79
FRAME, SLIDING 1
(8G8-47411-00-00)
Unavailable
80
RUNNER, SLIDING 1 (8E7-47421-10)
8N5-47421-00-XX
Unavailable
