- Partiron
- OEM Parts
- Yamaha
- snowmobile
- 1980
- ET340D 1980
BUMPER
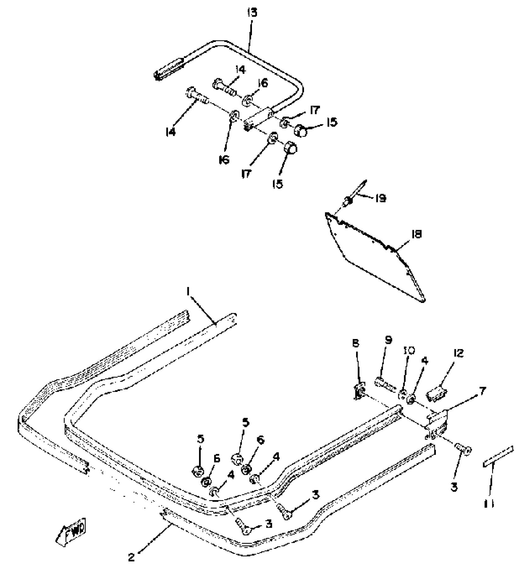
Yamaha ET340D 1980 BUMPER Diagram
#
Description
Price
1
BUMPER, FRONT 1
8G8-77511-00-00
Unavailable
2
BUMPER, FRONT 4
8G8-77514-00-00
Unavailable
4
WASHER, PLATE
90201-06M08-00
Unavailable
5
NUT, HEXAGON
95380-06600-00
Unavailable
6
WASHER, SPRING
92995-06100-00
Unavailable
7
END, BUMPER
8G8-77523-01-00
Unavailable
8
STAY 1
8G8-77535-00-00
Unavailable
10
WASHER, SPRING
92995-06100-00
Unavailable
11
STRIPE 3
8G8-77283-00-00
Unavailable
12
BUSH, RUBBER 2
8H5-77516-00-00
Unavailable
13
BUMPER, REAR 1
8G8-77541-00-00
Unavailable
14
SCREW, BINDING HEAD (JF71)
98980-08035-00
Unavailable
16
WASHER, PLAIN
92990-08200-00
Unavailable
17
YBS67-8 WASHER, SPRING
92990-08100-00
Unavailable
18
FLAP
8F2-77595-00-00
Unavailable
19
RIVET, BLIND (8R6)
90267-48086-00
Unavailable
