- Partiron
- OEM Parts
- Yamaha
- snowmobile
- 1979
- ET340C 1979
C - D - I - MAGNETO
Yamaha ET340C 1979 C - D - I - MAGNETO Diagram
#
Description
Price
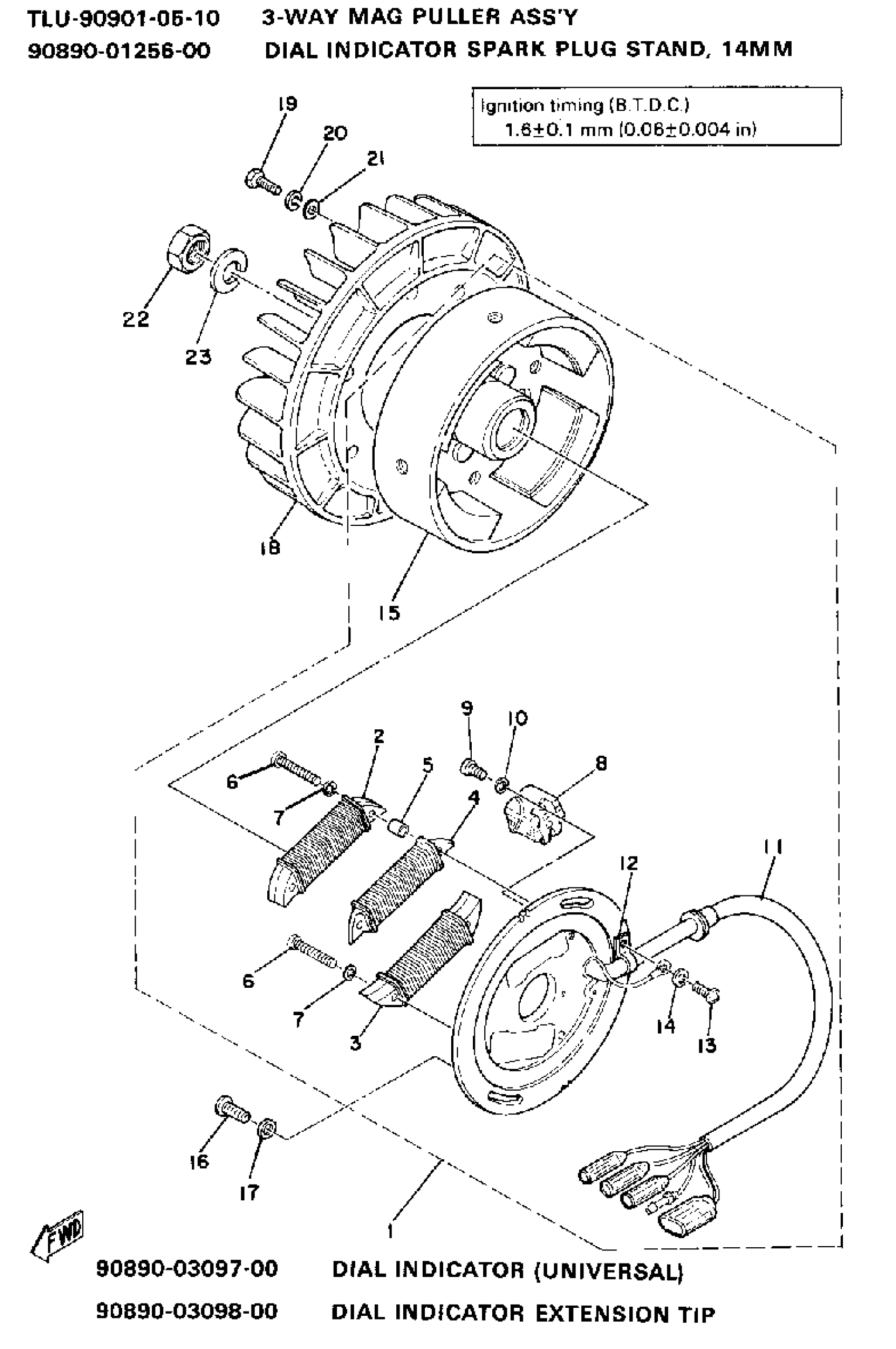
1
CDI MAGNETO ASSEMBLY
(8J6-85500-20-00)
Unavailable
2
. COIL SOURCE 1
8H4-85511-20-00
Unavailable
3
. COIL, LIGHTING 1
8G8-85513-20-00
Unavailable
4
. COIL, CHARGE
8H5-85541-20-00
Unavailable
5
. SPACER
8G8-85519-20-00
Unavailable
8
. COIL, PULSER (8G8-85580-20)
8H4-85580-20-00
Unavailable
11
. LEAD WIRE ASSEMBLY
8G8-85515-20-00
Unavailable
15
ROTOR ASSEMBLY
(8H5-85550-20-00)
Unavailable
16
SCREW, BIND (705)
98980-06016-00
Unavailable
17
WASHER, PLATE 6261117600
90201-06043-00
Unavailable
18
FAN
8G8-12611-01-00
Unavailable
19
BOLT, HEXAGON DEEP RECESS
97D95-06016-00
Unavailable
20
WASHER, SPRING
92995-06100-00
Unavailable
21
WASHER, PLAIN (646)
92990-06600-00
Unavailable
22
NUT
90170-16425-00
Unavailable
23
WASHER(JN5)
92907-16100-00
Unavailable
