- Partiron
- OEM Parts
- Yamaha
- snowmobile
- 1984
- ET300H (ENTICER 300) 1984
TRACK SUSPENSION 2
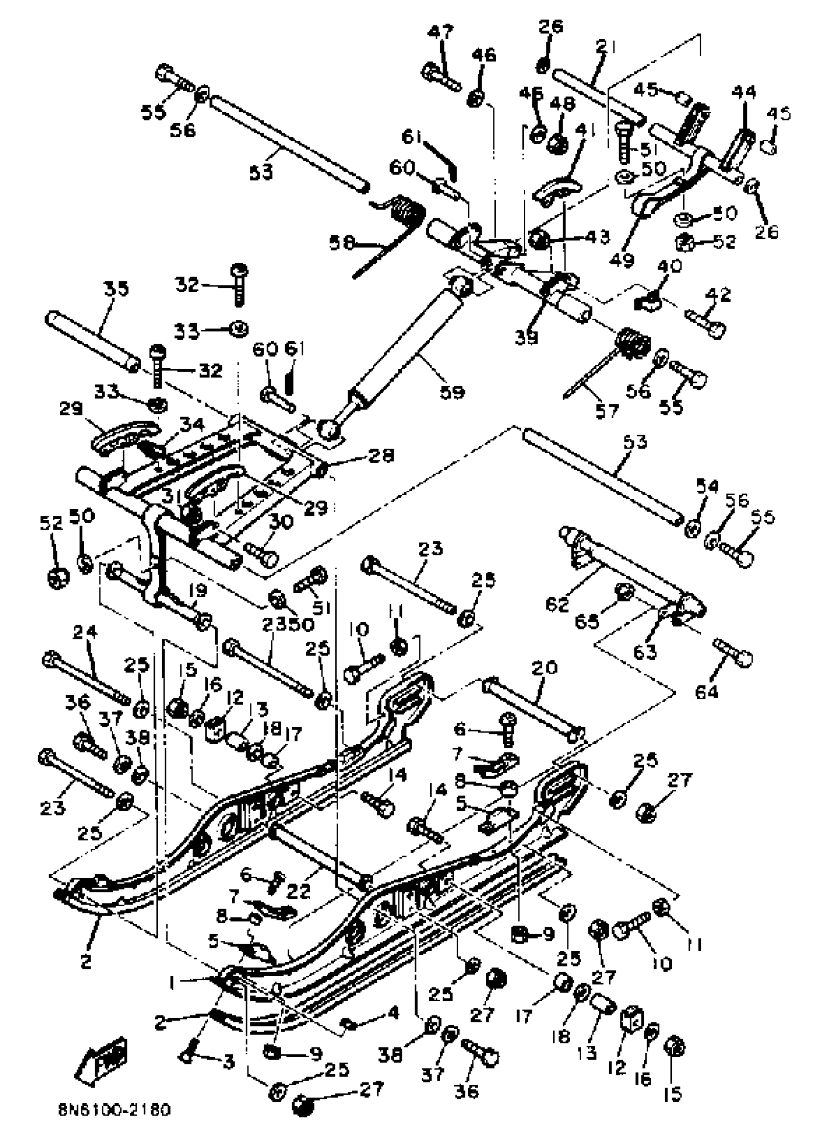
Yamaha ET300H (ENTICER 300) 1984 TRACK SUSPENSION 2 Diagram
#
1
FRAME, SLIDING 1
8X8-47411-00-00
Unavailable
2
RUNNER, SLIDING 1 (8F3-47421-10)
8N4-47421-00-XX
Unavailable
4
NUT, SQUARE
90173-06006-00
Unavailable
5
DAMPER 1
8F3-47456-00-00
Unavailable
6
SCREW, PAN HEAD(3YL)
98580-05014-00
Unavailable
7
PLATE, DAMPER
8F3-47458-00-00
Unavailable
16
WASHER, PLATE (4W3)
90201-086A3-00
Unavailable
17
COLLAR
90387-12105-00
Unavailable
18
WASHER, PLATE
90201-12047-00
Unavailable
19
BRACKET 1
8G5-47415-00-00
Unavailable
20
COLLAR
90387-08581-00
Unavailable
21
COLLAR
90387-08632-00
Unavailable
22
COLLAR
90387-08583-00
Unavailable
23
BOLT, HEXAGON
97027-08250-00
Unavailable
24
BOLT,HEXAGON
97027-08260-00
Unavailable
25
.. WASHER, PLATE
92990-08600-00
Unavailable
26
WASHER (1T1)
90201-08649-00
Unavailable
28
ARM, PIVOT 1
8H9-47331-00-00
Unavailable
29
RUNNER, SLIDING 2
8G8-47422-00-00
Unavailable
30
BOLT, HEXAGON
97017-06025-00
Unavailable
31
NUT, NYLON
95707-06300-00
Unavailable
32
SCREW PAN HEAD
98580-06020-00
Unavailable
33
WASHER, PLAIN (646)
92990-06600-00
Unavailable
34
PLATE, GUIDE
8H9-47467-00-00
Unavailable
35
SHAFT 3
8G5-47485-00-00
Unavailable
36
BOLT (8J7)
97013-10030-00
Unavailable
37
WASHER 823214910000
90208-10012-00
Unavailable
38
WASHER, PLATE(8BV)
90201-100S7-00
Unavailable
39
ARM, PIVOT 2
8F3-47332-01-00
Unavailable
40
BRACKET, ARM PIVOT
(8F3-47349-01-00)
Unavailable
41
RUNNER, SLIDING 2
8F3-47422-01-00
Unavailable
42
BOLT, HEXAGON
97017-06025-00
Unavailable
43
NUT, NYLON
95707-06300-00
Unavailable
44
BRACKET 3
8G5-47417-00-00
Unavailable
45
COLLAR (8A5 SUSPENSION)
90387-08508-00
Unavailable
46
WASHER (1T1)
90201-08649-00
Unavailable
47
BOLT
97013-08045-00
Unavailable
49
STOPPER 1
8F3-47495-00-00
Unavailable
50
WASHER, PLATE
90201-06747-00
Unavailable
51
BOLT, HEXAGON
97017-06025-00
Unavailable
52
NUT, NYLON
95707-06300-00
Unavailable
53
SHAFT 1
8A5-47465-02-00
Unavailable
54
SPACER
8U7-47341-00-00
Unavailable
55
BOLT (8J7)
97013-10030-00
Unavailable
56
WASHER 823214910000
90208-10012-00
Unavailable
57
SPRING, TORSION
90508-10337-00
Unavailable
58
SPRING, TORSION
90508-10338-00
Unavailable
59
SHOCK ABSORBER
8H9-47480-00-00
Unavailable
60
PIN, CLEVIS(8N0)
90240-12115-00
Unavailable
61
PIN, COTTER
91490-30030-00
Unavailable
62
BAR, SUSPENSION
8N4-47451-00-00
Unavailable
63
SPACER
8G5-47466-00-00
Unavailable
64
BOLT, HEXAGON
97013-08030-00
Unavailable
