- Partiron
- OEM Parts
- Yamaha
- snowmobile
- 1983
- ET300G 1983
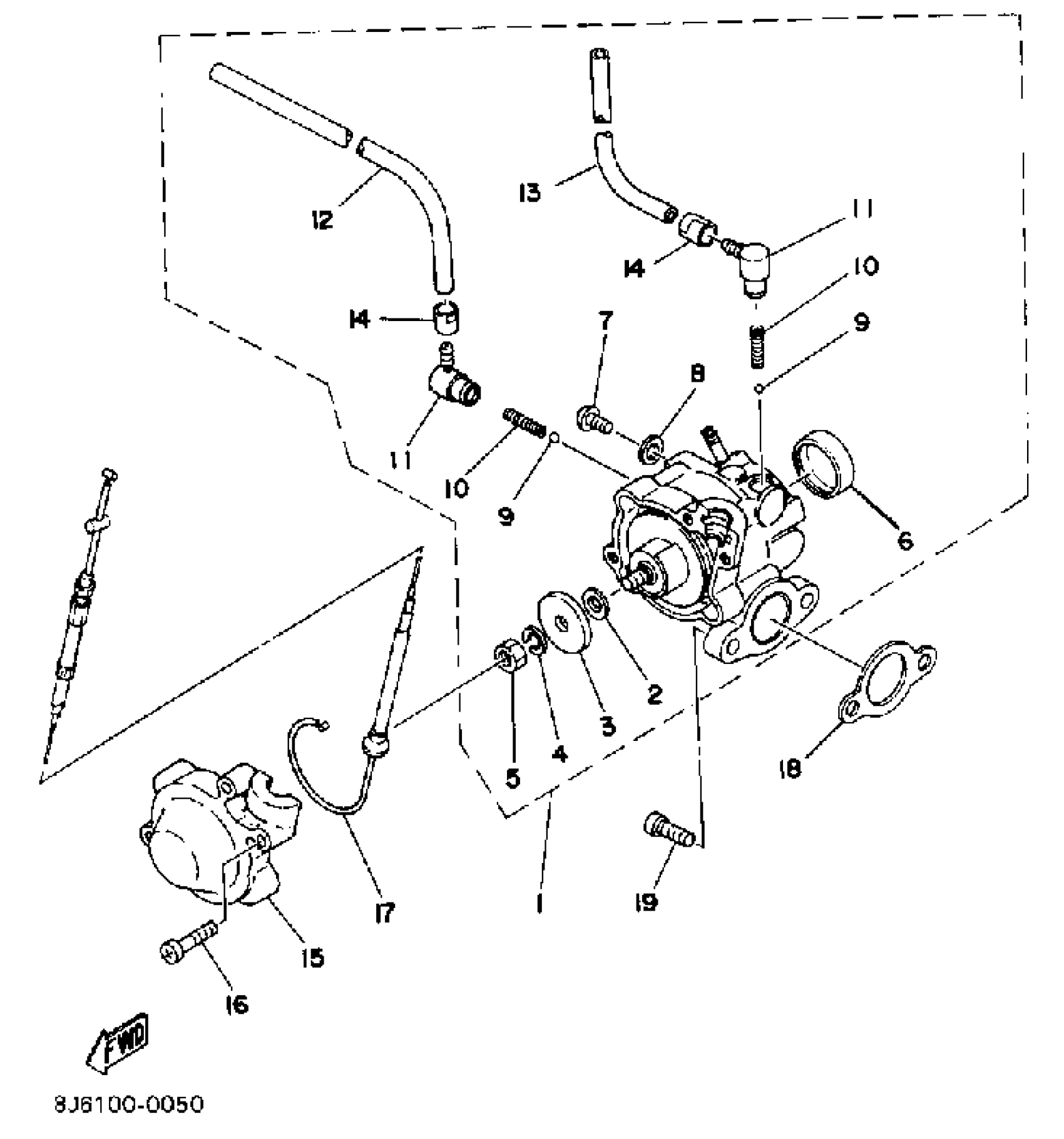
OIL PUMP
Yamaha ET300G 1983 OIL PUMP Diagram
#
Description
Price
1
OIL PUMP ASSEMBLY
8H9-13101-00-00
Unavailable
3
PLATE, ADJUSTING
137-13138-01-00
Unavailable
6
. PLUG
90338-21100-00
Unavailable
7
SCREW, BIND
98980-04008-00
Unavailable
14
CLIP (214-13164-00)
90468-02033-00
Unavailable
15
COVER, ADJUST PULLEY
8A5-13146-01-00
Unavailable
16
SCREW, PAN HEAD
98507-04018-00
Unavailable
17
PUMP CABLE ASSEMBLY
8G8-26320-01-00
Unavailable
18
GASKET, PUMP CASE
126-13116-01-00
Unavailable
19
SCREW, PAN HEAD(3YL)
98580-05014-00
Unavailable
