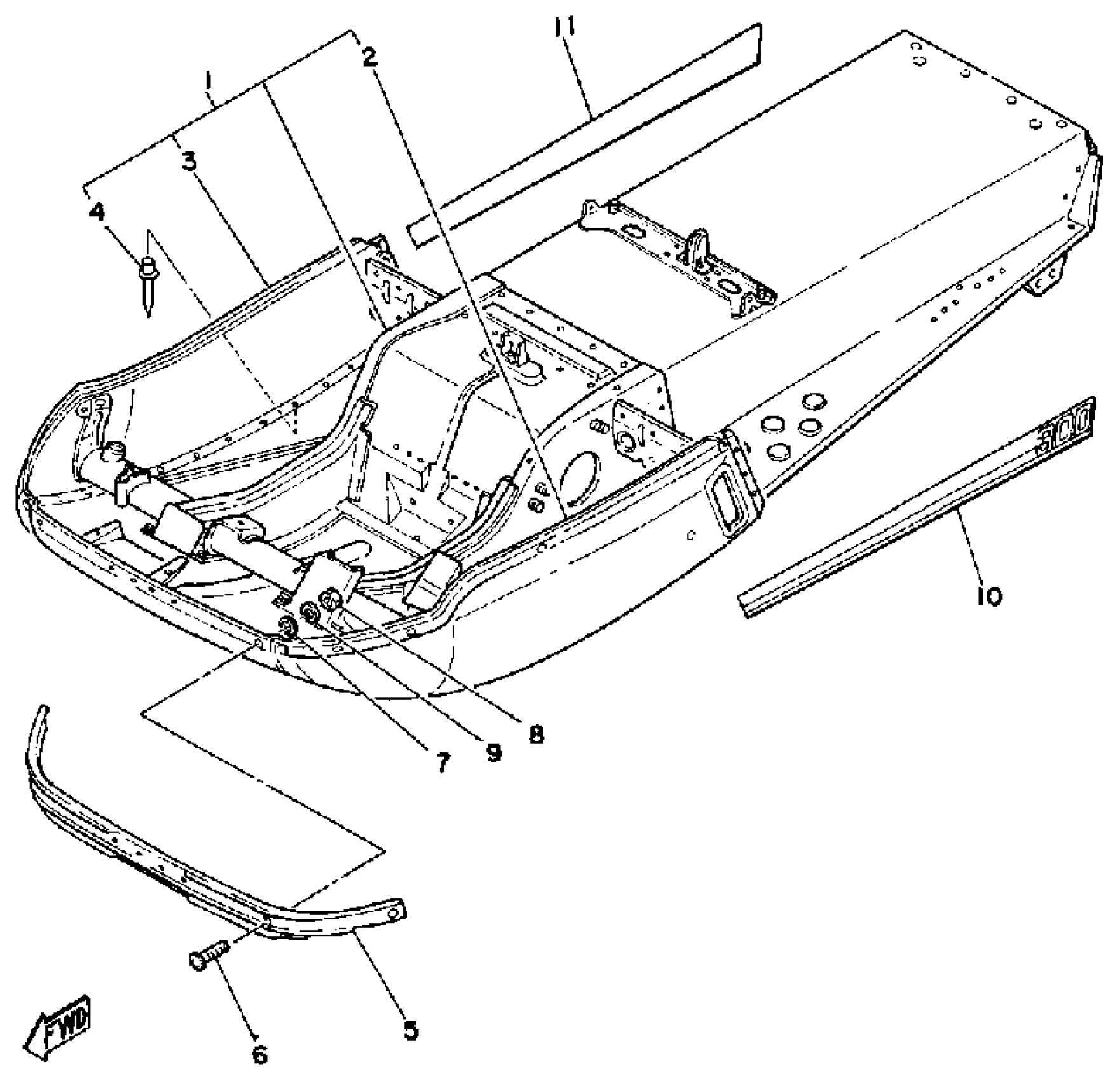
#
1
(8K0-21910-00-00)
Unavailable
2
8N6-21982-00-00
Unavailable
3
8N6-21983-00-00
Unavailable
5
8G8-21986-00-00
Unavailable
7
90201-06M08-00
Unavailable
8
95380-06600-00
Unavailable
9
92995-06100-00
Unavailable
10
8K0-77354-00-00
Unavailable
11
8K0-77355-00-00
Unavailable
Edit ride
