- Partiron
- OEM Parts
- Yamaha
- snowmobile
- 1979
- ET250C 1979
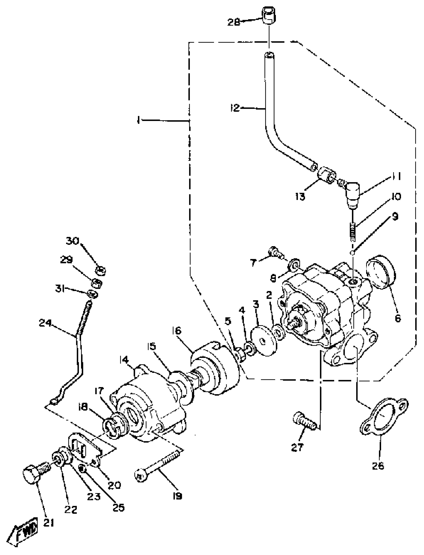
OIL PUMP ET250D\E
Yamaha ET250C 1979 OIL PUMP ET250D\E Diagram
#
Description
Price
1
OIL PUMP ASSEMBLY
(8F3-13101-01-00)
Unavailable
3
PLATE, ADJUSTING
137-13138-01-00
Unavailable
6
. PLUG
90338-21100-00
Unavailable
7
SCREW, BIND
98980-04008-00
Unavailable
14
COVER, AJST PULLEY
(812-13146-00-00)
Unavailable
15
SEAL, GREASE
860-13119-00-00
Unavailable
16
SHAFT, PUMP CONTROL
860-13153-00-00
Unavailable
17
SHIM
(812-13147-00-00)
Unavailable
18
CIRCLIP(J51)
99080-09600-00
Unavailable
19
SCREW, PAN
98507-04030-00
Unavailable
20
LEVER, PUMP CONTROL
(878-13156-00-00)
Unavailable
21
BOLT (661)
97013-06012-00
Unavailable
22
WASHER, SPRING
92995-06100-00
Unavailable
23
YBS66-6 WASHER, PLAIN
92990-06200-00
Unavailable
24
ROD, PUMP CONTROL
8J5-13157-01-00
Unavailable
25
WASHER(3SX)
92907-03600-00
Unavailable
26
GASKET, PUMP CASE
126-13116-01-00
Unavailable
27
SCREW, PAN HEAD(6B0)
97885-05016-00
Unavailable
29
NUT, HEXAGON (807-13139-00)
90170-03008-00
Unavailable
30
NUT, SELF-LOCKING (838-13139-00)
90185-03007-00
Unavailable
31
YBS66-4 WASHER, PLAIN
92990-04200-00
Unavailable
