- Partiron
- OEM Parts
- Yamaha
- snowmobile
- 1979
- ET250C 1979
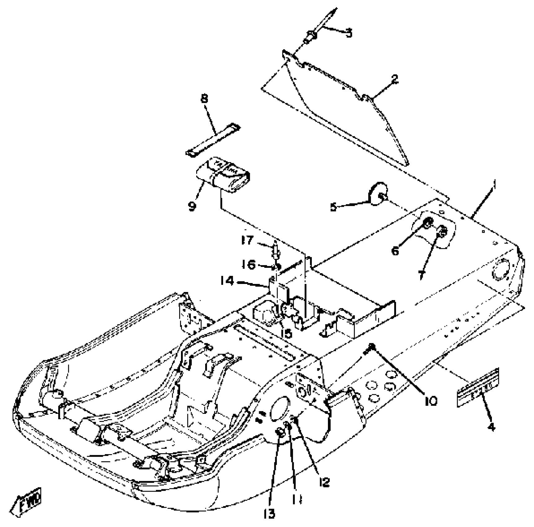
FRAME ET250C
Yamaha ET250C 1979 FRAME ET250C Diagram
#
Description
Price
1
FRAME
(8G5-21910-01-00)
Unavailable
2
FLAP
8F2-77595-00-00
Unavailable
4
EMBLEM 4
8G5-77354-00-00
Unavailable
6
WASHER, EX.TOOTH
92990-05400-00
Unavailable
11
WASHER, SPRING
92995-06100-00
Unavailable
13
NUT, HEXAGON
95380-06600-00
Unavailable
14
COVER, LUGGAGE BOX
(8H4-77392-00-00)
Unavailable
15
COVER, CONNECTER
(8F3-82599-00-00)
Unavailable
16
WASHER, PLATE
90201-04027-00
Unavailable
17
RIVET, BLIND (8H4)
90267-48053-00
Unavailable
