- Partiron
- OEM Parts
- Yamaha
- snowmobile
- 1978
- ET250B 1978
TRACK - SUSPENSION
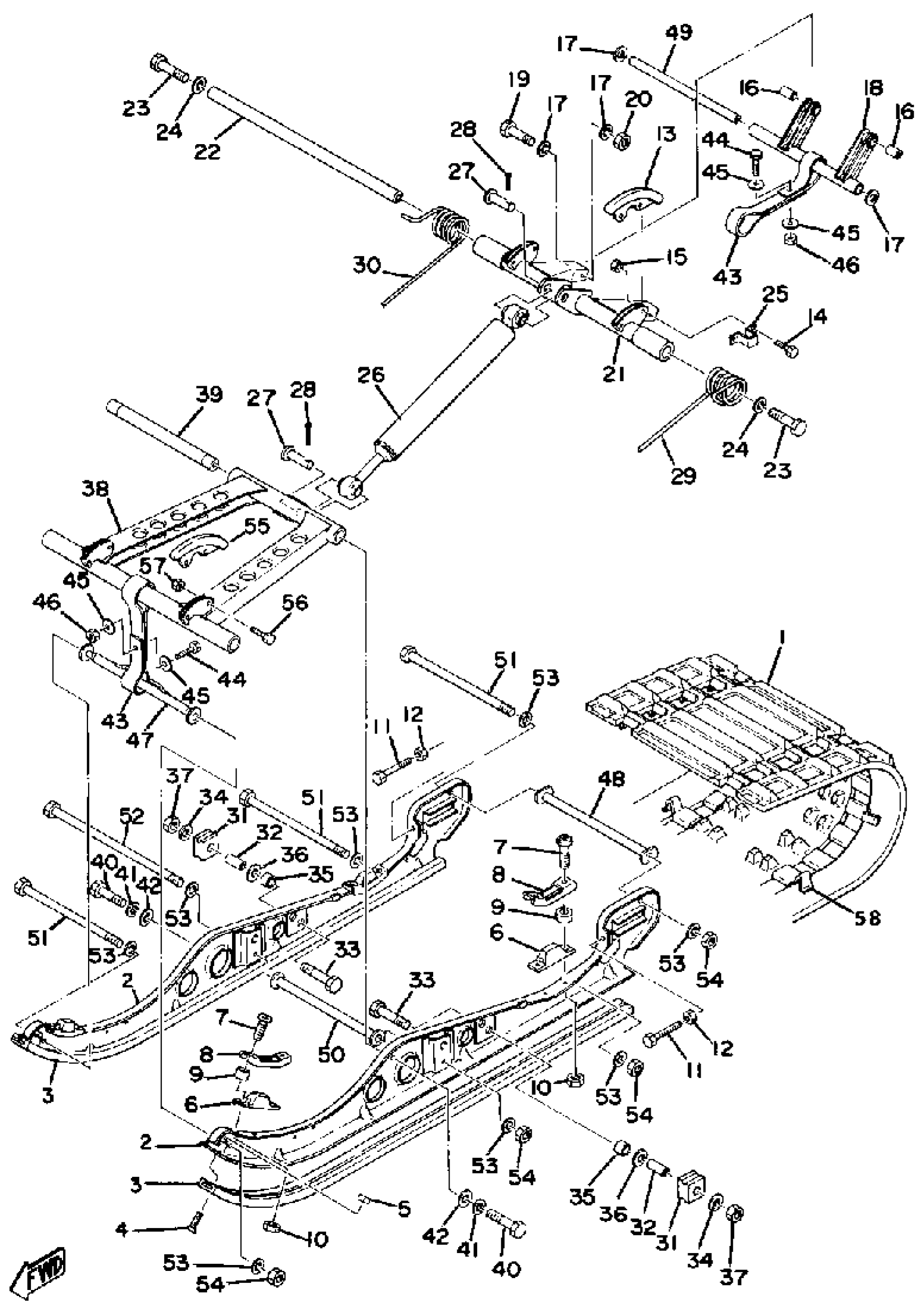
Yamaha ET250B 1978 TRACK - SUSPENSION Diagram
#
1
TRACK ASSEMBLY
(8F3-47110-01-00)
Unavailable
2
FRAME, SLIDING 1
8G5-47411-00-00
Unavailable
3
RUNNER, SLIDING 1 (8F3-47421-10)
8N4-47421-00-XX
Unavailable
4
SCREW, FLAT HEAD
98780-06025-00
Unavailable
5
NUT, SQUARE
90173-06006-00
Unavailable
6
DAMPER 1
8F3-47456-00-00
Unavailable
7
SCREW, PAN HEAD(6B0)
97885-05016-00
Unavailable
8
PLATE, DAMPER
8F3-47458-00-00
Unavailable
12
NUT (682)
95380-10700-00
Unavailable
16
COLLAR (8A5 SUSPENSION)
90387-08508-00
Unavailable
17
WASHER (1T1)
90201-08649-00
Unavailable
18
BRACKET 3
8G5-47417-00-00
Unavailable
19
BOLT
97013-08045-00
Unavailable
20
NUT, NYLON
95717-08300-00
Unavailable
21
ARM, PIVOT 2
8F3-47332-01-00
Unavailable
22
SHAFT 1
8A5-47465-02-00
Unavailable
23
BOLT (8J7)
97013-10030-00
Unavailable
24
WASHER 823214910000
90208-10012-00
Unavailable
25
BRACKET, ARM PIVOT
(8F3-47349-01-00)
Unavailable
26
SHOCK ABSORBER
8H9-47480-00-00
Unavailable
27
PIN, CLEVIS(8N0)
90240-12115-00
Unavailable
28
PIN, COTTER
91490-30030-00
Unavailable
29
SPRING, TORSION
90508-10337-00
Unavailable
30
SPRING, TORSION
90508-10338-00
Unavailable
31
HOOK 2
890-47447-00-00
Unavailable
32
COLLAR (878)
90387-08262-00
Unavailable
33
BOLT, HEXAGON
97013-08055-00
Unavailable
34
WASHER, PLATE (4W3)
90201-086A3-00
Unavailable
35
COLLAR
90387-12105-00
Unavailable
36
WASHER, PLATE
90201-12047-00
Unavailable
37
NUT, NYLON
95717-08300-00
Unavailable
38
ARM, PIVOT 1
8G5-47331-00-00
Unavailable
39
SHAFT 3
8G5-47485-00-00
Unavailable
40
BOLT (8J7)
97013-10030-00
Unavailable
41
WASHER 823214910000
90208-10012-00
Unavailable
42
WASHER, PLATE(8BV)
90201-100S7-00
Unavailable
43
STOPPER 1
8F3-47495-00-00
Unavailable
45
WASHER, PLATE
90201-06747-00
Unavailable
47
BRACKET 1
8G5-47415-00-00
Unavailable
48
COLLAR
90387-08581-00
Unavailable
49
COLLAR
90387-08632-00
Unavailable
50
COLLAR
90387-08583-00
Unavailable
51
BOLT, HEXAGON
97027-08250-00
Unavailable
52
BOLT,HEXAGON
97027-08260-00
Unavailable
53
.. WASHER, PLATE
92990-08600-00
Unavailable
54
NUT, NYLON
95717-08300-00
Unavailable
55
RUNNER, SLIDING 2
(8G5-47422-00-00)
Unavailable
58
METAL, SLIDE
8A5-47115-00-00
Unavailable
