- Partiron
- OEM Parts
- Yamaha
- snowmobile
- 1977
- ET250A 1977
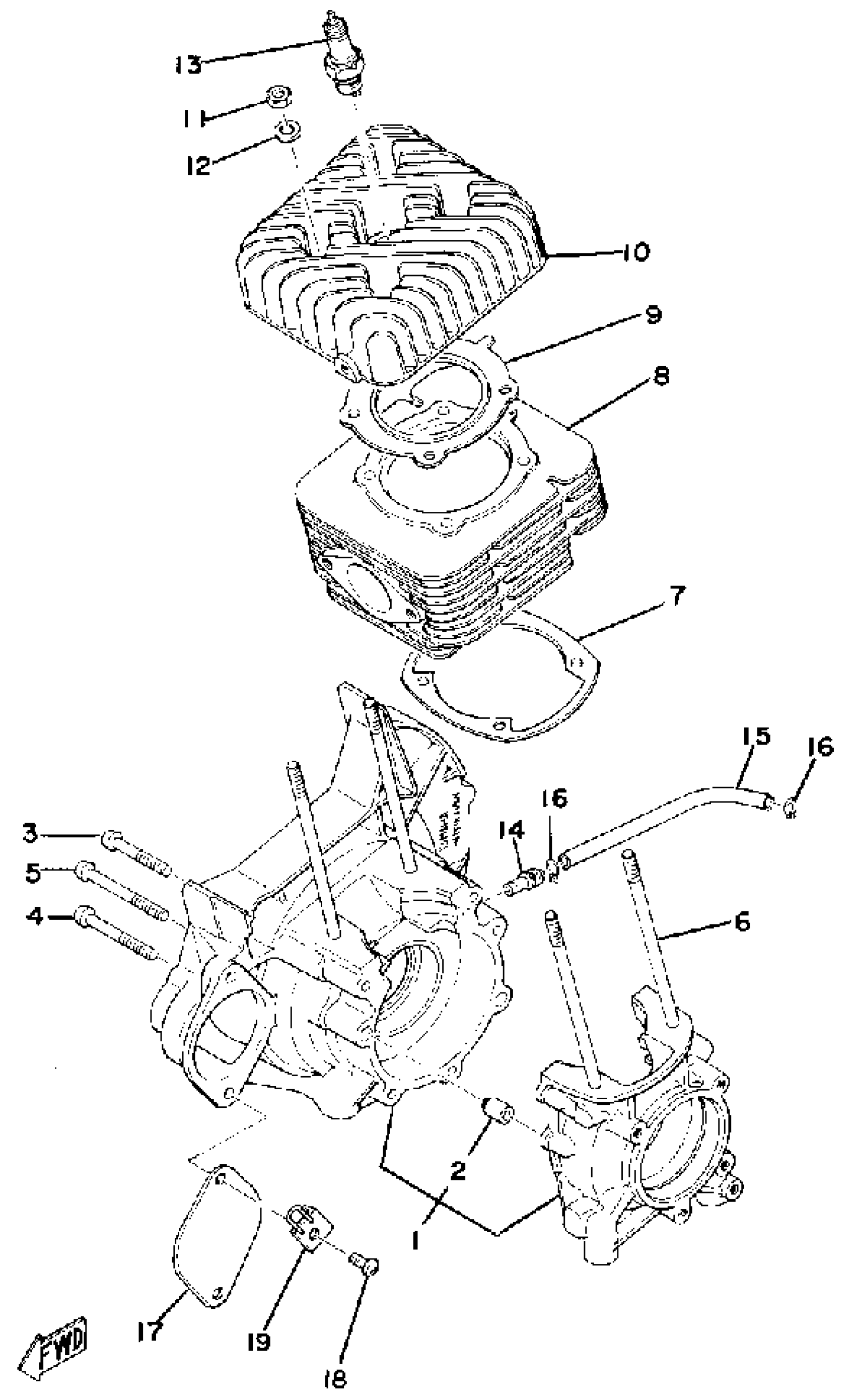
CRANKCASE - CYLINDER
Yamaha ET250A 1977 CRANKCASE - CYLINDER Diagram
#
Description
Price
1
CRANKCASE ASSEMBLY
(8F3-15100-00-00)
Unavailable
4
SCREW, PANHED (GC2)
98580-06555-00
Unavailable
5
SCREW PAN HEAD
98580-06565-00
Unavailable
6
BOLT, STUD
90116-08254-00
Unavailable
7
GASKET, CYLINDER
881-11351-02-00
Unavailable
8
CYLINDER 1
8F3-11311-00-00
Unavailable
9
GASKET, CYL HEAD 1
8F3-11181-01-00
Unavailable
10
HEAD, CYLINDER 1
8G5-11111-00-00
Unavailable
12
WASHER, PLAIN
92990-08200-00
Unavailable
13
NGK BR8HV 4PK
(NGK-BR8HV-00-00)
Unavailable
15
HOSE
(90445-10138-00)
Unavailable
16
CLIP
90467-090A2-00
Unavailable
17
PLATE
(881-12633-00-00)
Unavailable
18
SCREW, PAN
98507-08010-00
Unavailable
19
STAY 1
(8F3-77125-00-00)
Unavailable
