Partiron

Yamaha EC340E 1981 TRACK DRIVE 1 Diagram

#

Description
Price

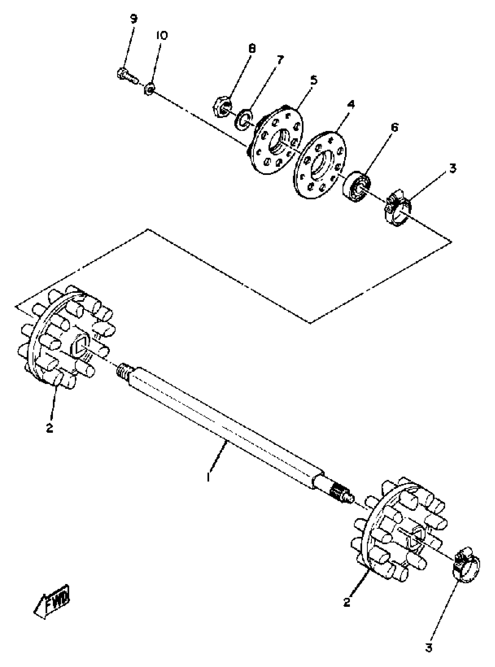
1

AXLE, FRONT

8G8-W4751-00-00

Unavailable

2

WHEEL, SPROCKET 1

8H9-47531-00-00

Unavailable

3

BAND (MADE IN CANADA)

90460-50079-00

Unavailable

4

HOUSING, FRONT AXLE

8F3-47551-00-00

Unavailable

5

HOUSING, FRONT AXLE

8G5-47551-01-00

Unavailable

6

BEARING(8AB)

93306-00444-00

$41.99

7

WASHER (853)

90208-20008-00

$10.49

8

NUT, HEXAGON (8F3)

90170-20211-00

$4.72

9

BOLT, HEXAGON

97017-08016-00

$8.49

10

YBS67-8 WASHER, SPRING

92990-08100-00

$5.60