- Partiron
- OEM Parts
- Yamaha
- motorcycle
- 1981
- DT80H (DT80H) 1981
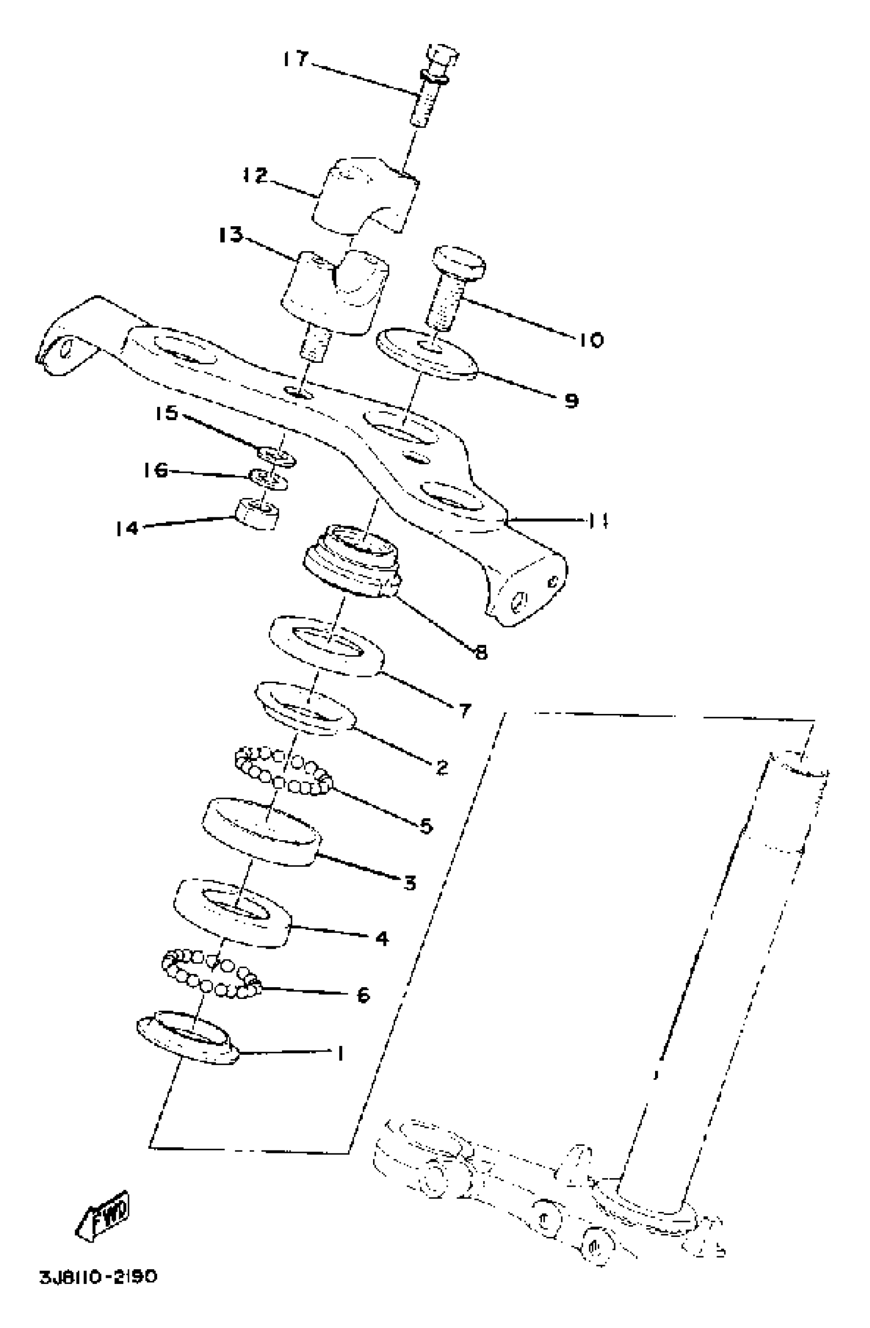
STEERING DT80H - J - K
Yamaha DT80H (DT80H) 1981 STEERING DT80H - J - K Diagram
#
Description
Price
11
CROWN, HANDLE
(368-23435-00-35)
Unavailable
12
HOLDER, HANDLE UPPER
462-23441-01-00
Unavailable
13
HOLDER, HANDLE UNDER
462-23442-00-98
Unavailable
15
WASHER, PLATE
92990-10600-00
Unavailable
16
YBS67-10 WASHER, SPRING
92990-10100-00
Unavailable
17
BOLT(3RV)
97014-06035-00
Unavailable
