- Partiron
- OEM Parts
- Yamaha
- motorcycle
- 1988
- DT50U (ENDURO) 1988
TAILLIGHT
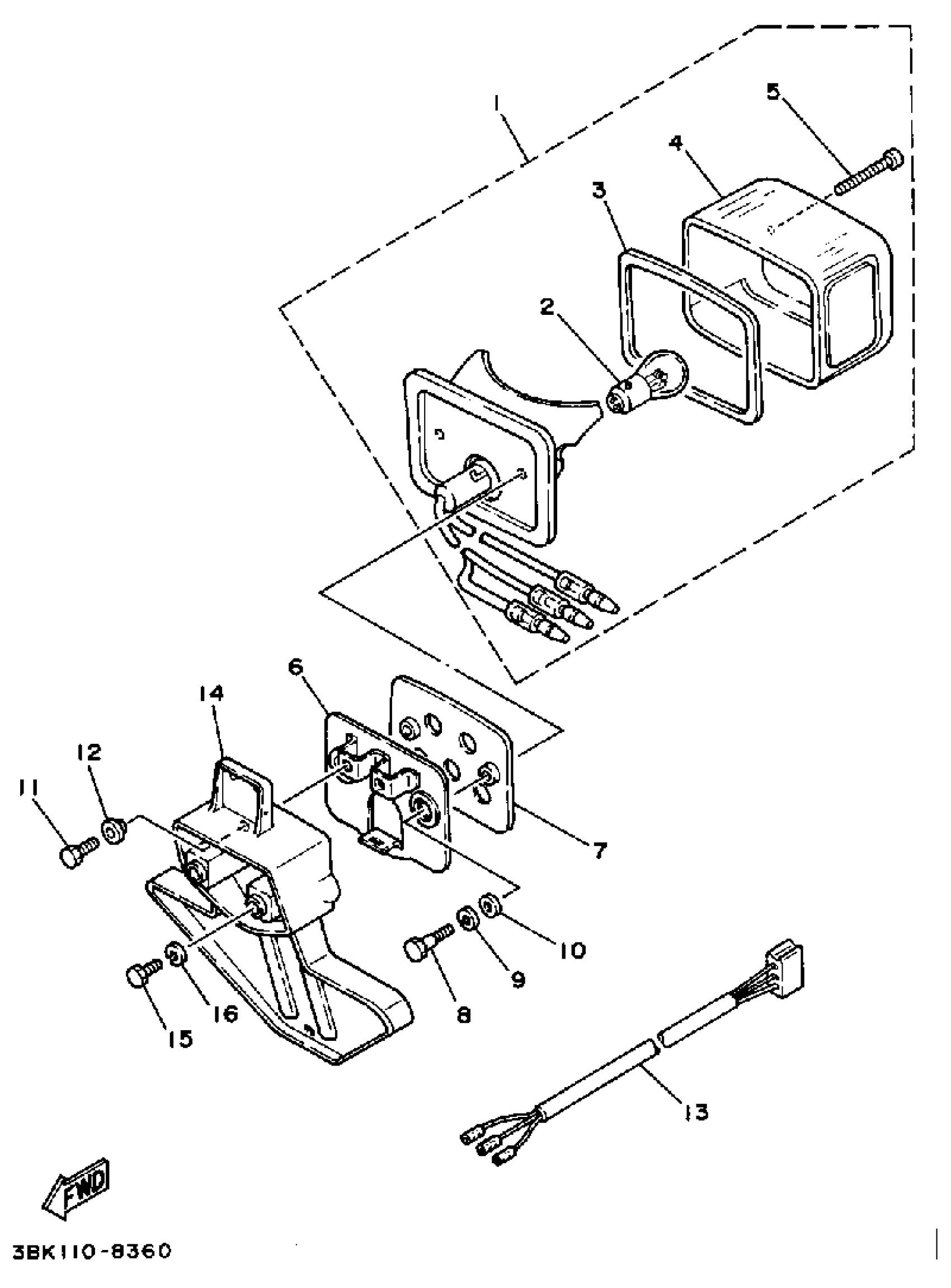
Yamaha DT50U (ENDURO) 1988 TAILLIGHT Diagram
#
Description
Price
1
TAILLIGHT UNIT ASSEMBLY
1M1-84510-60-00
Unavailable
2
. BULB
1M1-84514-60-00
Unavailable
6
BRACKET, TAILLIGHT
3BK-84519-00-00
Unavailable
7
DAMPER
4L0-84753-00-00
Unavailable
13
CORD, TAILLIGHT
3BK-84517-00-00
Unavailable
14
BRACKET, LICENSE
3BK-21685-00-00
Unavailable
16
WASHER, SPRING
92995-06100-00
Unavailable
