Partiron

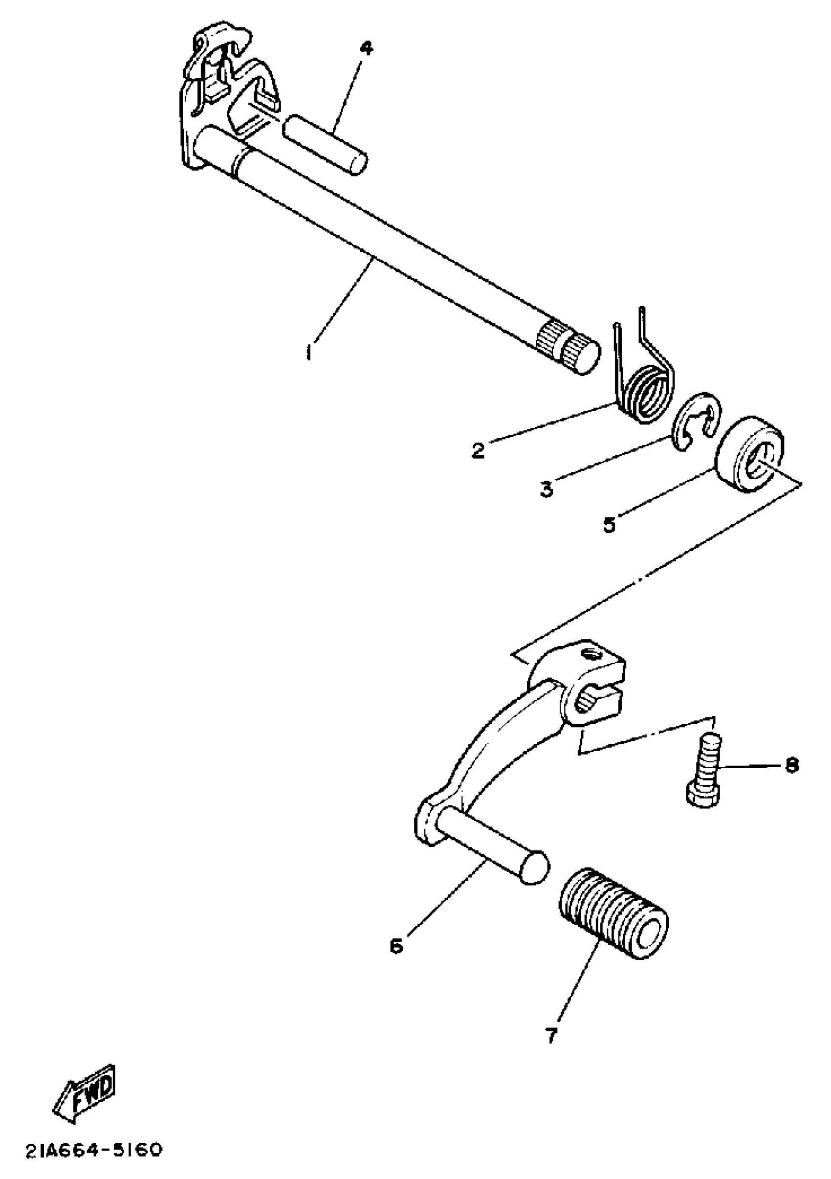
Yamaha DT50U (ENDURO) 1988 SHIFT SHAFT Diagram

#

Description
Price

1

SHIFT SHAFT ASSEMBLY. 1

5R2-18101-03-00

Unavailable

2

SPRING, TORSION(17W)

90508-32642-00

$9.49

3

CIRCLIP

99006-10600-00

$9.49

4

PIN, DOWEL

93608-30152-00

Unavailable

5

OIL SEAL (12X19X5-401)

93109-12012-00

$10.49

6

PEDAL, SHIFT

17W-18111-01-00

Unavailable

7

COVER, CHANGE PEDAL

132-18113-01-00

$7.99

8

BOLT, HEXAGON

97017-06020-00

$4.06