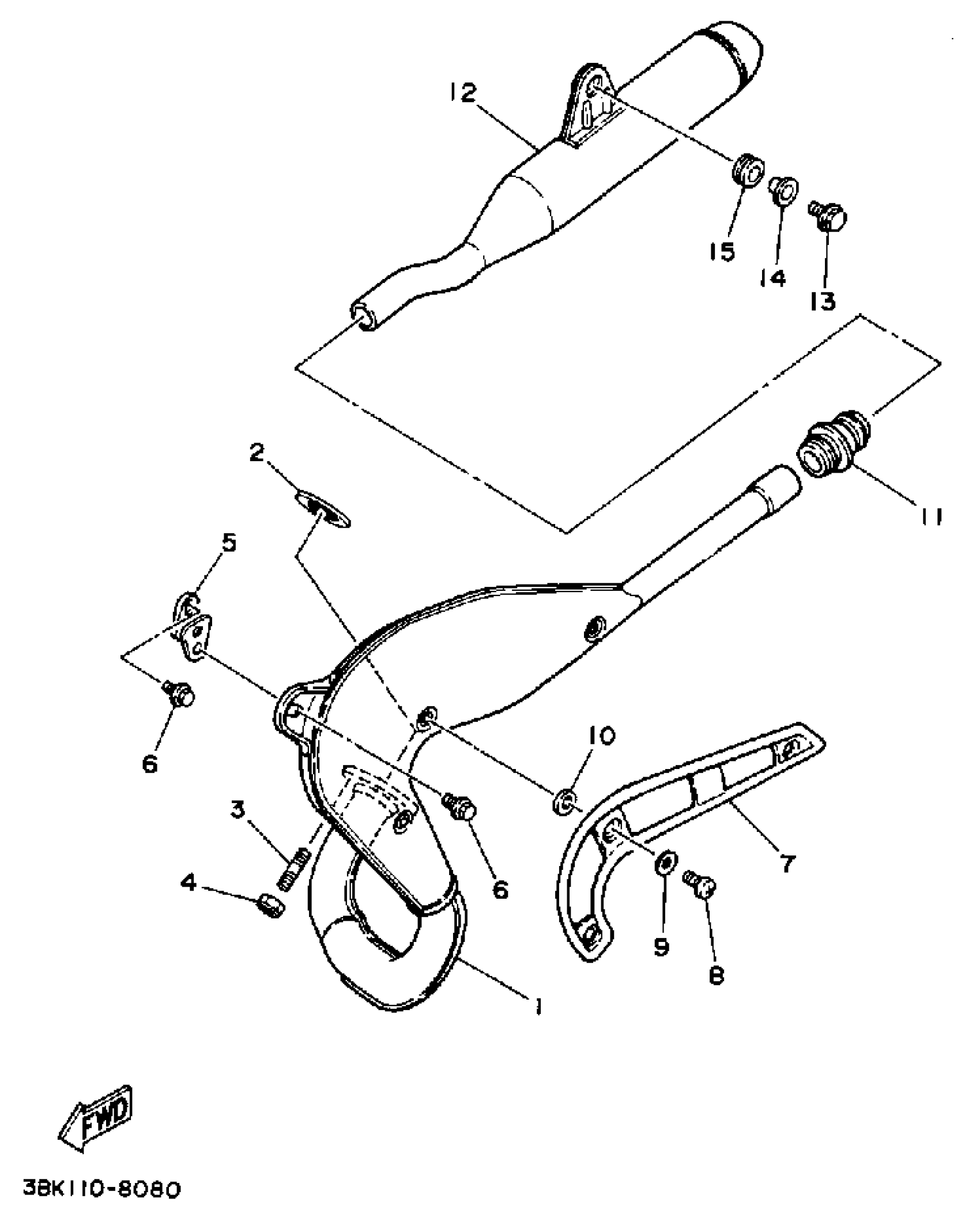
Yamaha DT50LC (DT50W) 1988 EXHAUST Diagram
#
Description
Price
1
EXHAUST PIPE ASSEMBLY L
3BK-14610-01-00
Unavailable
2
GASKET, EXHAUST PIPE
5R2-14613-09-00
Unavailable
3
BOLT, STUD (17W)
90116-08408-00
Unavailable
5
STAY, MUFFLER 1
(17W-14771-01-00)
Unavailable
7
PROTECTOR, MUFF 1
17W-14718-00-00
Unavailable
12
SILENCER, EXHAUST
3BK-14753-00-00
Unavailable
14
COLLAR (21X)
90387-093H1-00
Unavailable
