- Partiron
- OEM Parts
- Yamaha
- motorcycle
- 1975
- DT400B (DT400B) 1975
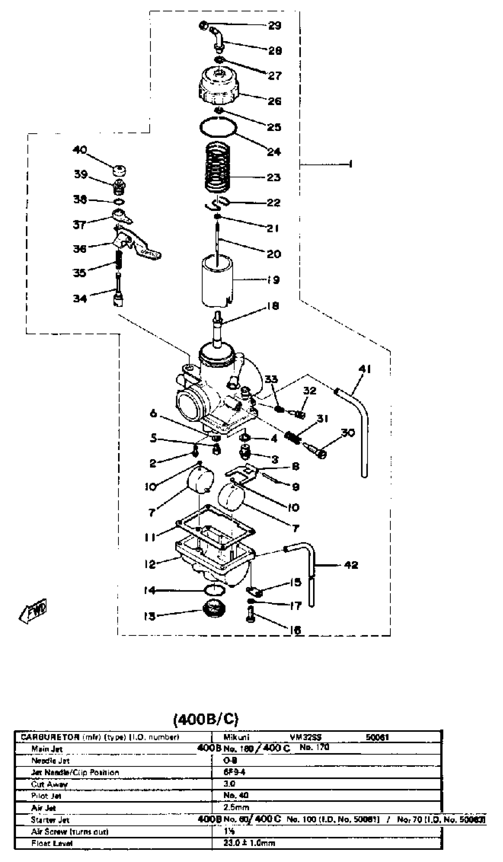
CARBURETOR 400B - C
Yamaha DT400B (DT400B) 1975 CARBURETOR 400B - C Diagram
#
1
CARBURETOR ASSEMBLY 1
(500-14101-63-00)
Unavailable
2
. JET, PILOT #40
193-14142-40-A1
Unavailable
3
. NEEDLE VALVE ASSEMBLY
500-14190-25-00
Unavailable
4
. WASHER, NEEDLE VALVE
136-14195-00-00
Unavailable
4
WASHER,VALVE SEAT
239-14195-00-00
Unavailable
5
JET, MAIN #180
137-14143-36-A1
Unavailable
7
. FLOAT
275-14185-00-00
Unavailable
8
. ARM, FLOAT
214-14187-00-00
Unavailable
10
CAP
214-14118-00-00
Unavailable
12
BODY, FLOAT CHMBR 1
(500-14181-00-33)
Unavailable
13
PLUG, SCREW
500-14115-00-00
Unavailable
14
O-RING
(93210-18283-00)
Unavailable
15
PLATE
500-14146-00-00
Unavailable
16
SCREW, PAN HEAD(GA5)
98580-04014-00
Unavailable
17
YBS67-4 WASHER, SPRING
92990-04100-00
Unavailable
18
. NOZZLE, MAIN P-O
239-14141-40-00
Unavailable
19
VALVE, THROTTLE 1
(500-14112-20-00)
Unavailable
19
VALVE, THROTTLE 1
(500-14112-30-00)
Unavailable
20
. NEEDLE
239-14116-09-00
Unavailable
20
. NEEDLE
275-14116-02-00
Unavailable
21
CLIP
3FA-14137-00-00
Unavailable
22
. SEAT, SPRING
239-14136-00-00
Unavailable
23
. SPRING, THROTTLE VALVE
363-14131-00-00
Unavailable
24
O-RING
(93210-40284-00)
Unavailable
25
CLIP
363-14137-00-00
Unavailable
26
. TOP, MIXING CHAMBER (500-14158-00-33)
500-14158-00-00
Unavailable
27
GASKET
363-14198-00-00
Unavailable
28
. GUIDE, CABLE
500-14155-00-00
Unavailable
29
NUT, WIRE ADJUSTING
127-14161-00-00
Unavailable
30
THROTTLE SCREW SET
40T-14103-00-00
Unavailable
31
SPRING, THROTTLE STOP
137-14133-00-00
Unavailable
32
AIR SCREW SET
23X-14104-00-00
Unavailable
33
SPRING, AIR ADJUSTING
127-14134-00-00
Unavailable
34
. PLUNGER, STARTER
174-14171-00-00
Unavailable
35
. SPRING, PLUNGER
500-14135-00-00
Unavailable
36
LEVER, STARTER 1
(275-14175-00-00)
Unavailable
37
. PLATE, STARTER LEVER
275-14178-00-00
Unavailable
38
O-RING
(93210-09285-00)
Unavailable
39
CAP, PLUNGER
(500-14174-00-00)
Unavailable
40
. COVER, PLUNGER CAP
802-14173-00-00
Unavailable
41
PIPE, AIRVENT
(313-14197-00-00)
Unavailable
42
HOSE (L200)
90445-05N13-00
Unavailable
