- Partiron
- OEM Parts
- Yamaha
- motorcycle
- 1975
- DT400B (DT400B) 1975
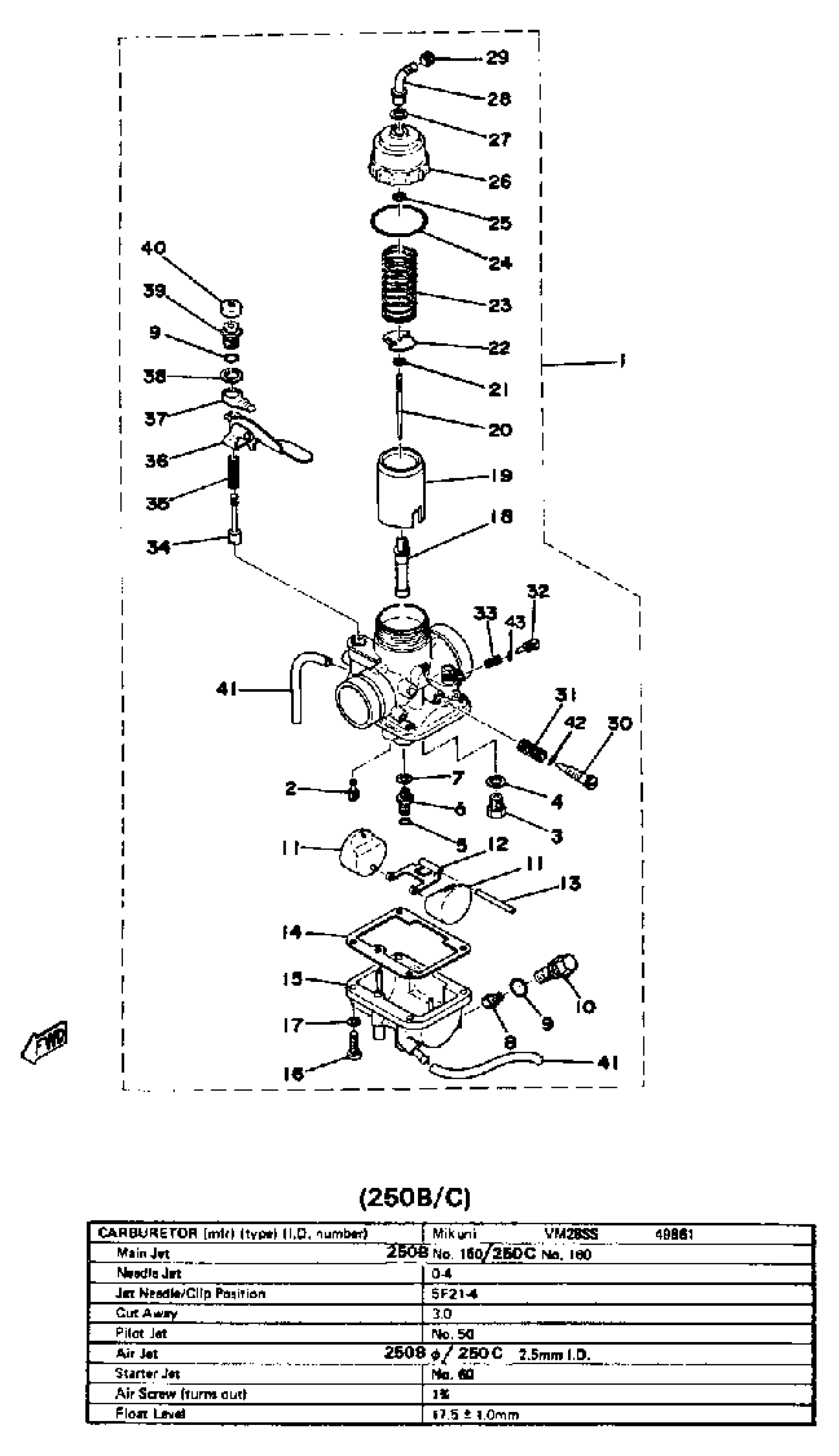
CARBURETOR 250B - C
Yamaha DT400B (DT400B) 1975 CARBURETOR 250B - C Diagram
#
1
CARBURETOR ASSEMBLY 1
(498-14101-62-00)
Unavailable
6
. SETTER, NEEDLE JET
276-14145-00-00
Unavailable
8
JET, MAIN #140
137-14143-28-A0
Unavailable
10
BOLT, BANJO
(493-14166-00-00)
Unavailable
11
. FLOAT
280-14185-00-00
Unavailable
12
. ARM, FLOAT
280-14187-00-00
Unavailable
13
PIN, FLOAT
127-14186-00-00
Unavailable
14
GASKET, FLOAT CHAMBER
360-14184-01-00
Unavailable
15
BODY, FLOAT CHAMBER 1
(498-14181-00-33)
Unavailable
16
SCREW, PAN HEAD(GA5)
98580-04014-00
Unavailable
17
YBS67-4 WASHER, SPRING
92990-04100-00
Unavailable
18
. NOZZLE, MAIN
278-14141-34-00
Unavailable
19
. VALVE, THROTTLE 1
498-14112-30-00
Unavailable
20
. NEEDLE
644-14116-21-00
Unavailable
21
CLIP
3FA-14137-00-00
Unavailable
22
. SEAT, SPRING 000
401-14136-00-00
Unavailable
23
SPRING, THROTTLE VALVE
248-14131-00-00
Unavailable
24
. O-RING
361-14147-00-00
Unavailable
25
CLIP
363-14137-00-00
Unavailable
26
. TOP, MIXING CHAMBER (498-14158-00)
498-14158-00-33
Unavailable
27
GASKET
363-14198-00-00
Unavailable
28
. GUIDE, CABLE
363-14155-00-00
Unavailable
29
NUT, WIRE ADJUSTING
127-14161-00-00
Unavailable
30
THROTTLE SCREW SET
23X-14103-00-00
Unavailable
30
. SCREW, THROTTLE
493-14122-00-00
Unavailable
31
SPRING, THROTTLE STOP
137-14133-00-00
Unavailable
31
. SPRING, THROTTLE STOP
493-14133-00-00
Unavailable
32
AIR SCREW SET
10W-14104-00-00
Unavailable
32
AIR SCREW SET
23X-14104-00-00
Unavailable
33
SPRING, AIR ADJUSTING
127-14134-00-00
Unavailable
34
. PLUNGER, STARTER
278-14171-00-00
Unavailable
35
. SPRING, PLUNGER
256-14135-00-00
Unavailable
36
. LEVER, STARTER LH
360-14175-00-00
Unavailable
37
. PLATE, STARTER LEVER
(170-14178-00-00)
Unavailable
38
WASHER, STARTER LVR
(132-14179-00-00)
Unavailable
39
. CAP, PLUNGER
(278-14174-00-00)
Unavailable
40
. COVER, PLUNGER CAP
802-14173-00-00
Unavailable
41
PIPE
23F-14197-00-00
Unavailable
43
O-RING (493-CARB.)
354-14147-00-00
Unavailable
