- Partiron
- OEM Parts
- Yamaha
- motorcycle
- 1980
- DT125G (DT125G) 1980
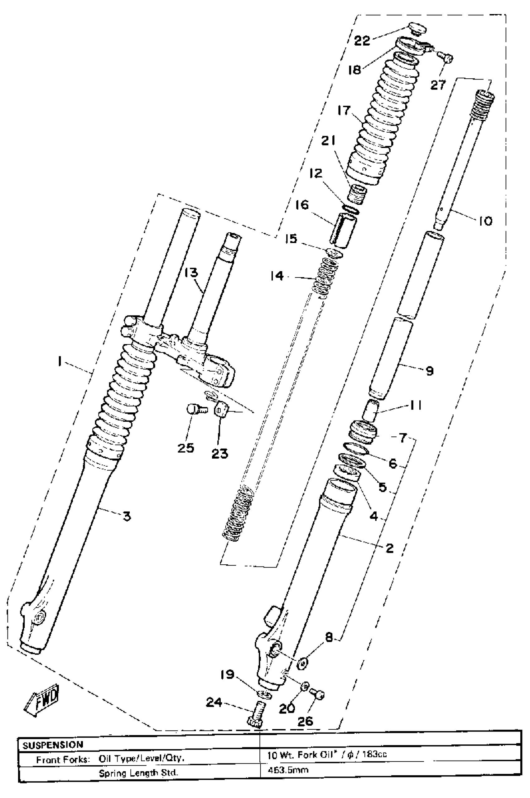
FRONT FORK
Yamaha DT125G (DT125G) 1980 FRONT FORK Diagram
#
Description
Price
1
FRONT FORK ASSEMBLY
(3M2-23101-00-00)
Unavailable
2
TUBE, OUTER 1
(3J0-23126-00-00)
Unavailable
3
TUBE, OUTER 2
(3J0-23136-00-00)
Unavailable
4
OIL SEAL
2K5-23145-00-00
Unavailable
5
.. WASHER, OIL SEAL
2K5-23146-00-00
Unavailable
6
RING, SNAP
15E-23153-00-00
Unavailable
7
DUST SEAL
3Y6-23144-00-00
Unavailable
8
WASHER, FELT
(2K5-23165-00-00)
Unavailable
9
INNER TUBE 1
(3J0-23110-00-00)
Unavailable
10
CYLINDER, FRTFRK
(3J0-23170-00-00)
Unavailable
13
UNDER BRACKET
(2N4-23340-00-33)
Unavailable
14
SPRING, FRONT FORK
(3J0-23141-00-00)
Unavailable
15
. SEAT, SPRING UPPER
256-23142-60-00
Unavailable
16
SPACER
(3J0-23118-00-00)
Unavailable
17
. BOOT, FRONT FORK
2K5-23191-M0-00
Unavailable
18
BAND, BOOT
2K5-23192-00-00
Unavailable
19
GASKET
509-23158-L0-00
Unavailable
20
GASKET, DRAIN PLUG
122-23129-00-00
Unavailable
21
BOLT, CAP
1X0-23111-00-00
Unavailable
22
CAP
1X0-23168-00-00
Unavailable
23
HOLDER, CABLE
(2N4-23317-00-00)
Unavailable
24
BOLT, HEXAGON SOCKET HEAD
3D8-23181-00-00
Unavailable
25
. BOLT, HEXAGON SOCKET HEAD
5X6-23181-L0-00
Unavailable
26
SCREW, PAN HEAD(3XP)
98517-04006-00
Unavailable
26
SCREW, PAN HEAD (713)
98580-04008-00
Unavailable
27
SCREW
509-23194-L0-00
Unavailable
