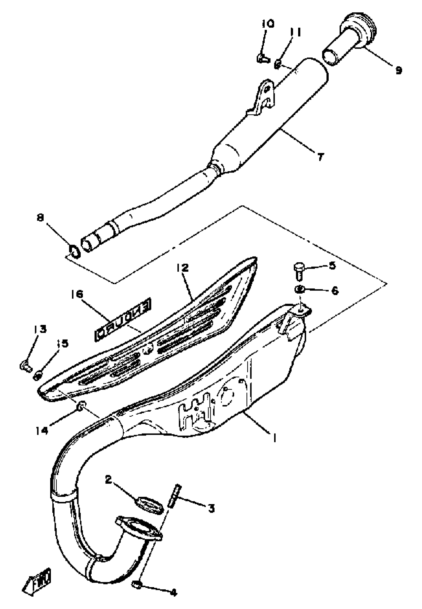
Yamaha DT100H (DT100H) 1981 EXHAUST Diagram
#
Description
Price
1
EXHAUST PIPE ASY L
3UL-14610-01-00
Unavailable
4
NUT, HEXAGON
95380-06600-00
Unavailable
6
WASHER, PLAIN
92990-08200-00
Unavailable
7
SILENCER, EXHAUST
1T9-14753-00-00
Unavailable
8
O-RING (538)
93210-16290-00
Unavailable
9
PIPE, OUTLET
438-14752-00-00
Unavailable
11
WASHER, SPRING
92995-06100-00
Unavailable
12
PROTECTOR, MUFF 1
(1T9-14718-00-20)
Unavailable
12
PROTECTOR, MUFF 1
(1T9-14718-00-26)
Unavailable
12
PROTECTOR, MUFF 1
1T9-14718-00-36
Unavailable
14
WASHER, PLATE(3MB)
90202-05187-00
Unavailable
15
WASHER, PLATE(3MT)
90202-05188-00
Unavailable
16
EMBLEM, PROTECTOR
2F5-14729-01-00
Unavailable
