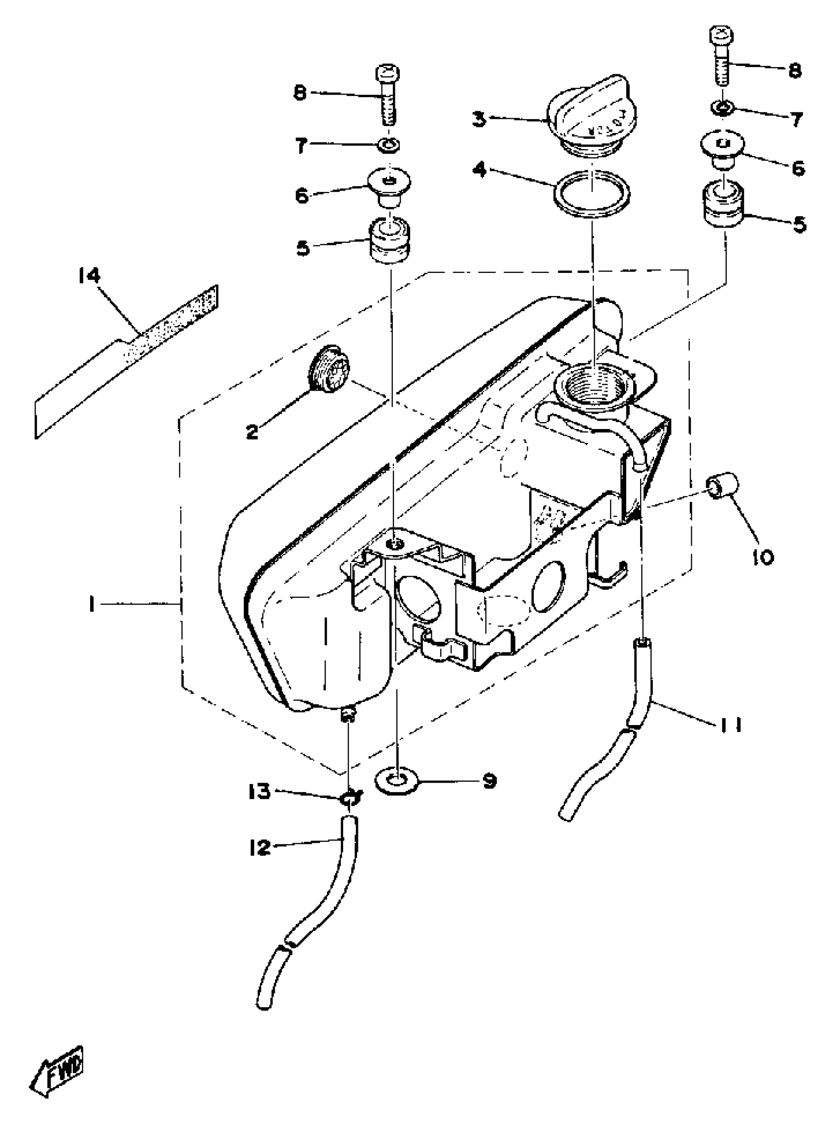
Yamaha DT100C (DT100C) 1976 OIL TANK Diagram
#
Description
Price
1
OIL TANK ASSEMBLY
(558-21705-01-K9)
Unavailable
2
. GAUGE, LEVEL
360-21761-00-00
Unavailable
6
COLLAR 437216330000
90387-07391-00
Unavailable
7
WASHER, SPRING
92995-06100-00
Unavailable
8
SCREW, PAN HEAD(6E0)
97885-06030-00
Unavailable
10
DAMPER, OIL TANK
437-21779-00-00
Unavailable
14
EMBLEM 7
(498-21787-01-00)
Unavailable
