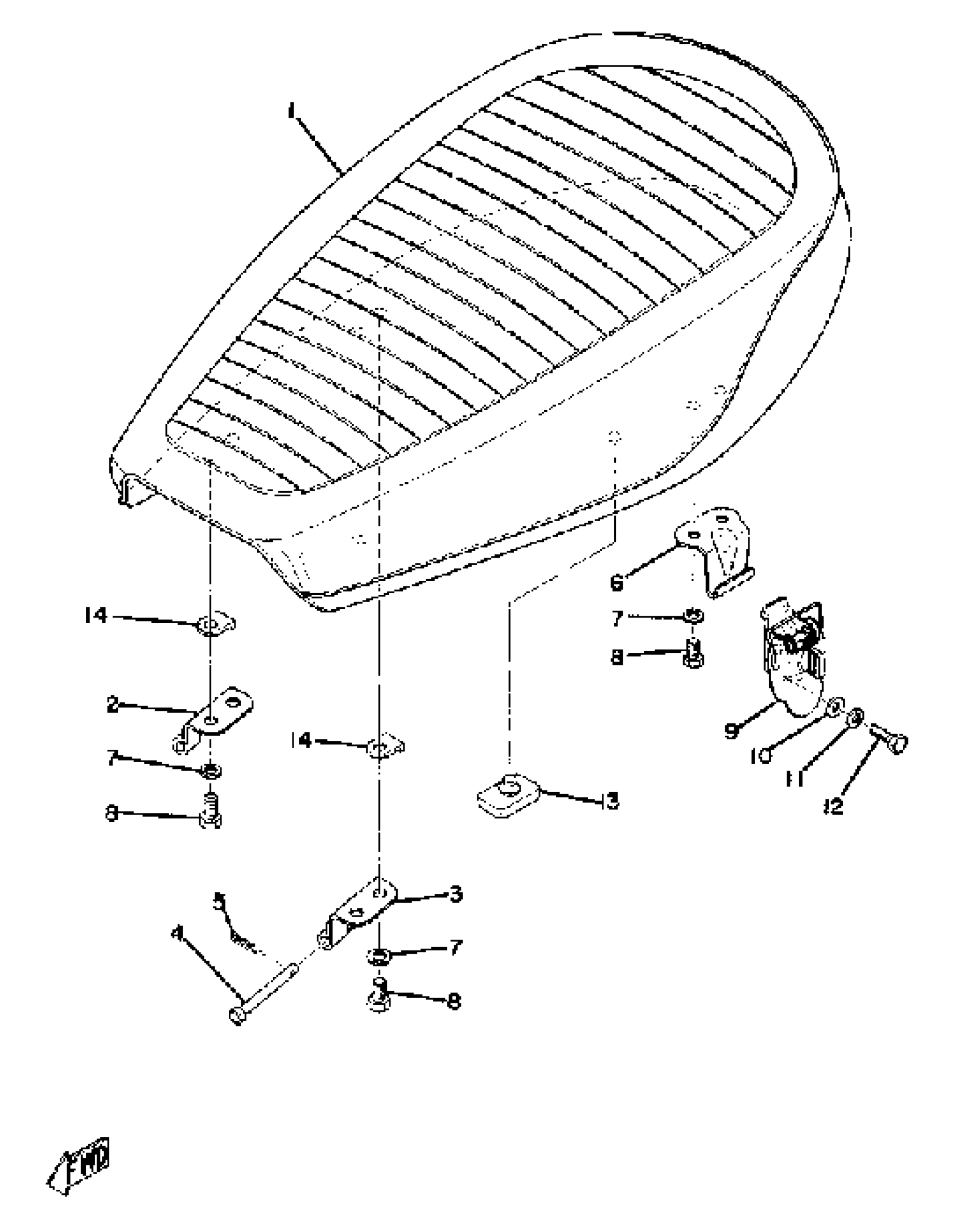
Yamaha DT100A (DT100A) 1974 SEAT Diagram
#
Description
Price
1
. COVER, SINGLE SEAT
437-24711-01-00
Unavailable
1
SINGLE SEAT ASSEMBLY
452-24730-01-00
Unavailable
2
HINGE, SEAT
248-24726-00-33
Unavailable
3
HINGE, SEAT
(437-24726-00-00)
Unavailable
6
BRACKET, SEAT
(214-24728-00-33)
Unavailable
7
WASHER, SPRING
92995-06100-00
Unavailable
9
SEAT LEVER ASSY
1K8-24705-00-00
Unavailable
11
WASHER, SPRING
92995-06100-00
Unavailable
14
STOPPER
(437-24768-00-00)
Unavailable
