- Partiron
- OEM Parts
- Suzuki
- Motorcycle
- 2000
- DS80 (2000)
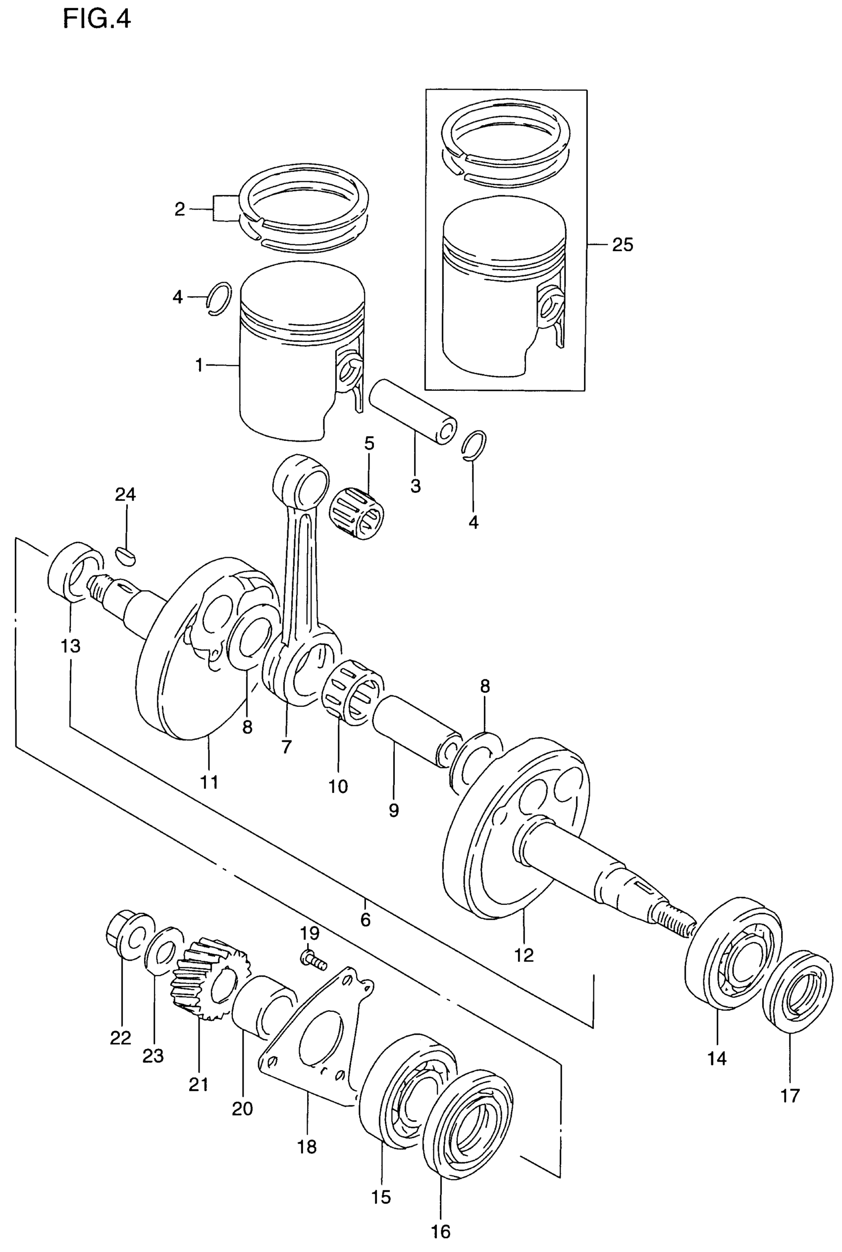
CRANKSHAFT
Suzuki DS80 (2000) CRANKSHAFT Diagram
#
Description
Price
11
CRANKSHAFT, RH | MODEL T This part replaces 12221-46000.
12220-46810
Unavailable
11
CRANKSHAFT, RH | MODEL V/W/X/Y
12220-46810
Unavailable
12
CRANKSHAFT, LH
12261-46411
Unavailable
15
BEARING, RH (20X47X14)
09262-20064
Unavailable
21
GEAR, PRIMARY DRIVE (NT:19)
21111-46000
Unavailable
