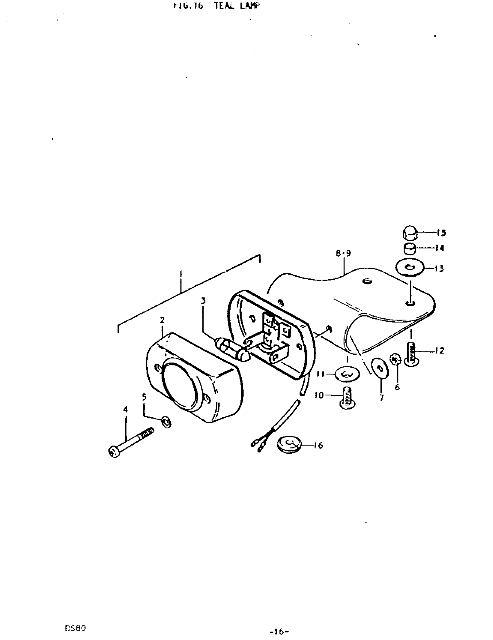
Partiron

Suzuki DS80 (1979) TAILLAMP Diagram

#

Description
Price

1

LAMP ASSY, TAIL

35710-46410

Unavailable

2

LENS

35712-41410

Unavailable

3

BULB | 6V, 5W

09471-06012

Unavailable

4

SCREW

35723-03621

Unavailable

5

WASHER

35727-03010

Unavailable

6

NUT This part replaces 08310-11048.

08310-00047

$2.23

7

WASHER

09160-05013

$1.49

8

CUSHION, TAIL LAMP

35764-41401

Unavailable

10

SCREW

02142-06127

$1.49

12

SCREW

02142-06167

$1.49

13

WASHER (6.5X20X1.2) This part replaces 09160-06027.

09160-06077

$1.91

15

NUT, LICENSE HOLDER This part replaces 08313-11068.

08313-10067

$1.84

16

GROMMET, TAIL LAMP LEAD WIRE

09308-05011

Unavailable