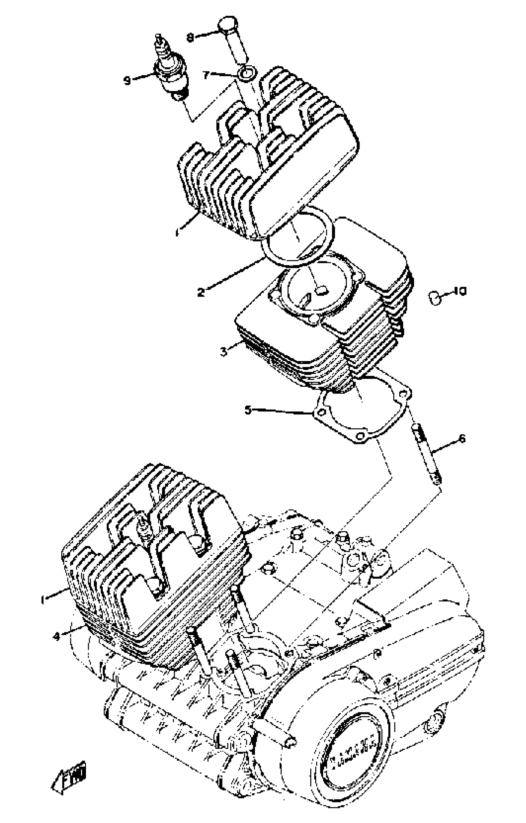
CYLINDER HEAD - CYLINDER
#
1
(361-11111-01-00)
Unavailable
2
280-11181-01-00
Unavailable
3
(280-11311-01-00)
Unavailable
4
(280-11321-01-00)
Unavailable
8
90179-08026-00
Unavailable
9
BR9-ES000-00-00
Unavailable
10
(171-11161-00-00)
Unavailable
Edit ride
