- Partiron
- OEM Parts
- Yamaha
- motorcycle
- 1969
- DS6C (DS6C) 1969
SHIFTER (A)
Yamaha DS6C (DS6C) 1969 SHIFTER (A) Diagram
#
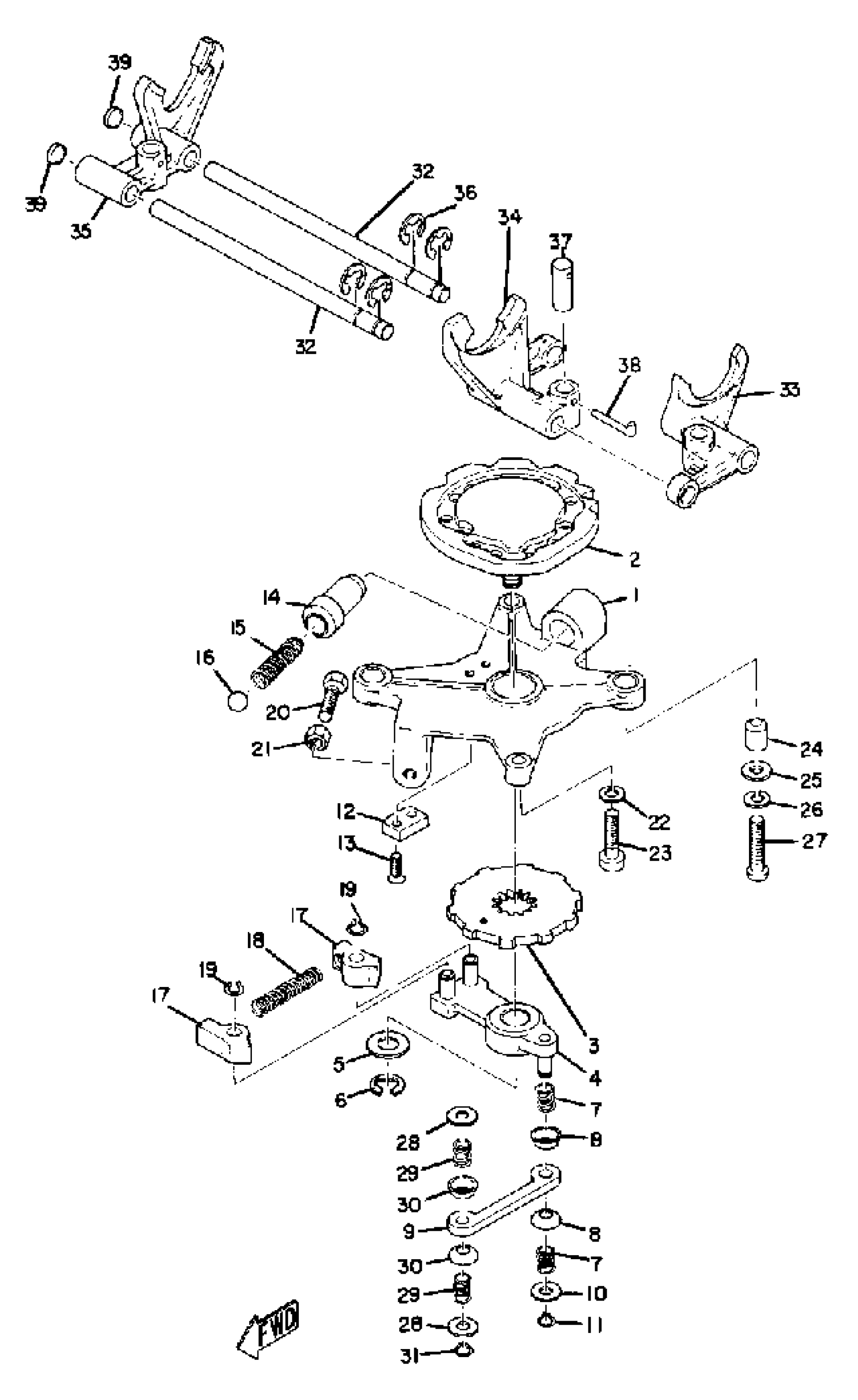
1
PLATE, CAM FITTING
(170-18351-00-00)
Unavailable
2
PLATE, SHIFT CAM
(152-18331-00-00)
Unavailable
3
PLATE, WORKING
(156-18333-00-00)
Unavailable
4
PAWL HOLDER ASSEMBLY
(156-18180-00-00)
Unavailable
5
SHIM
(150-18334-00-07)
Unavailable
5
SHIM
(150-18334-00-08)
Unavailable
5
SHIM
(150-18334-00-09)
Unavailable
5
SHIM
(150-18334-00-10)
Unavailable
7
SPRING, COMPRESSION
(90501-05021-00)
Unavailable
8
WASHER, SPEC''L SHAP
(90209-06083-00)
Unavailable
9
LINK, SHIFT
(150-18335-00-00)
Unavailable
10
WASHER,PLATE
90201-06046-00
Unavailable
11
CLIP, PAWL LOCK
(150-18189-00-00)
Unavailable
12
PLATE, PAWL
(150-18352-00-00)
Unavailable
13
SCREW, FLAT
98707-04012-00
Unavailable
14
BUSH
(150-18587-00-00)
Unavailable
15
SPRING, COMPRESSION
(90501-16098-00)
Unavailable
16
BALL 13/32
(93513-32008-00)
Unavailable
17
PAWL, SHIFTER
(150-18182-00-00)
Unavailable
18
SPRING, COMPRESSION
(90501-06026-00)
Unavailable
19
CLIP, PAWL LOCK
(150-18189-00-00)
Unavailable
20
BOLT(3DM)
97024-06020-00
Unavailable
21
NUT(650)
95380-06700-00
Unavailable
22
WASHER, SPRING
92995-06100-00
Unavailable
23
SCREW, PAN HEAD (76T)
98517-06025-00
Unavailable
24
PIN, DOWEL(3VD)
99530-10114-00
Unavailable
25
YBS66-6 WASHER, PLAIN
92990-06200-00
Unavailable
26
WASHER, SPRING
92995-06100-00
Unavailable
27
SCREW, PAN HEAD(6E0)
97885-06030-00
Unavailable
28
WASHER,PLATE
90201-06046-00
Unavailable
29
SPRING, COMPRESSION
(90501-05021-00)
Unavailable
30
WASHER, SPEC''L SHAP
(90209-06083-00)
Unavailable
31
CLIP, PAWL LOCK
(150-18189-00-00)
Unavailable
32
SHAFT, SHIFTER
(150-18318-00-00)
Unavailable
33
FORK, SHIFT 1
(152-18311-00-00)
Unavailable
34
FORK, SHIFT 2
(152-18312-00-00)
Unavailable
35
FORK, SHIFT 3
(152-18313-00-00)
Unavailable
37
ROTOR
(150-18316-00-00)
Unavailable
38
PIN, SPEC''L SHAPE
(90249-02003-00)
Unavailable
39
PLUG, BLIND
90334-10006-00
Unavailable
