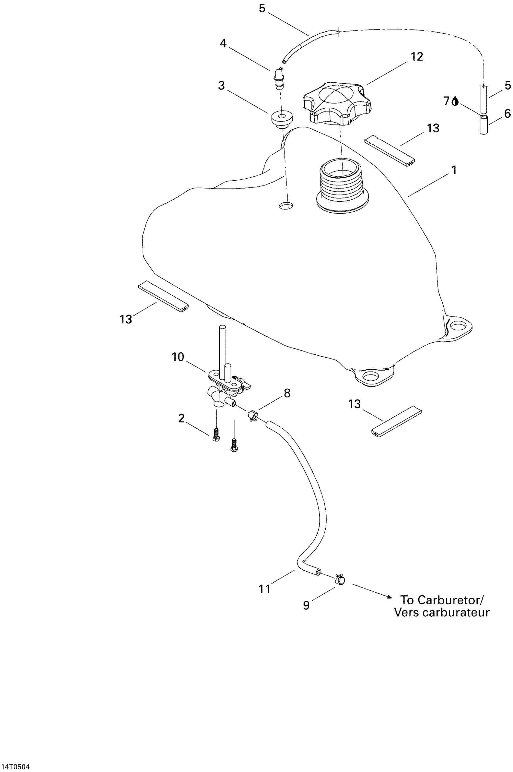
Can-Am DS 650/DS 650 X, 2005 Fuel System Diagram
#
Description
Price
1
FUEL TANK - Call your local BRP dealership
709000010
Unavailable
10
FUEL VALVE - Call your local BRP dealership
709000011
Unavailable
11
HOSE 5/16 I.D, 1000MM LONG - Call your local BRP dealership
219704422
Unavailable
