Can-Am DS 250 NA / Inter, 2007 Frame Diagram
#
Description
Price
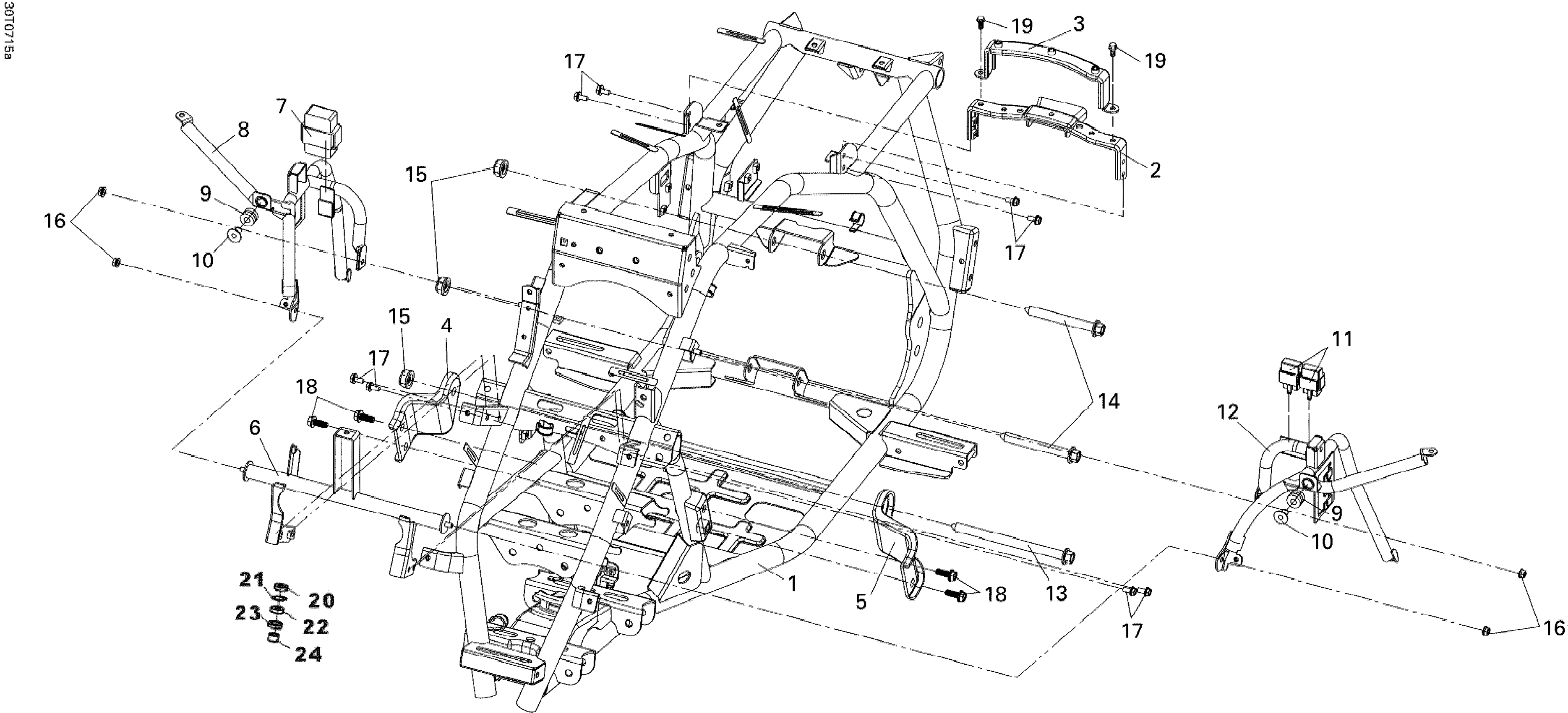
7
SHIFT GEAR CONTROL UNIT - Call your local BRP dealership
S3576ARCA000
Unavailable
8
RH Front Fender Support
S50520RCA000
Unavailable
11
ELEC.RELAY ASSY - Call your local BRP dealership
S3850AHLA000
Unavailable
12
LH Front Fender Support
S50522RCA000
Unavailable
