Partiron

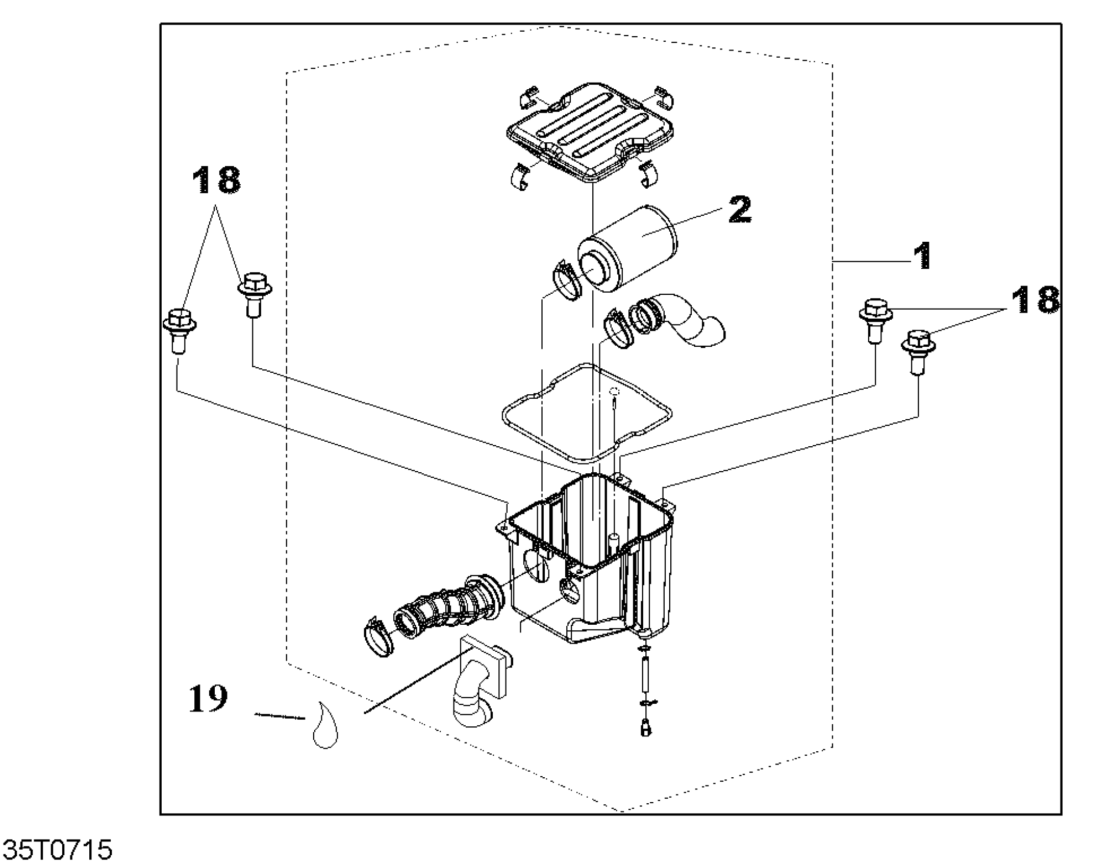
Can-Am DS 250 NA / Inter, 2007 Air Intake Silencer Diagram

#

Description
Price

1

Air Filter Assy. This part replaces S17200RCA000.

S17200RCB000

$85.99

2

Air Filter

S17202RB1000

$35.99

18

Flanged Bolt

S90111MPQ0000P

Unavailable

19

Not Available As Spare Part - Friction Washer

Unavailable