Partiron

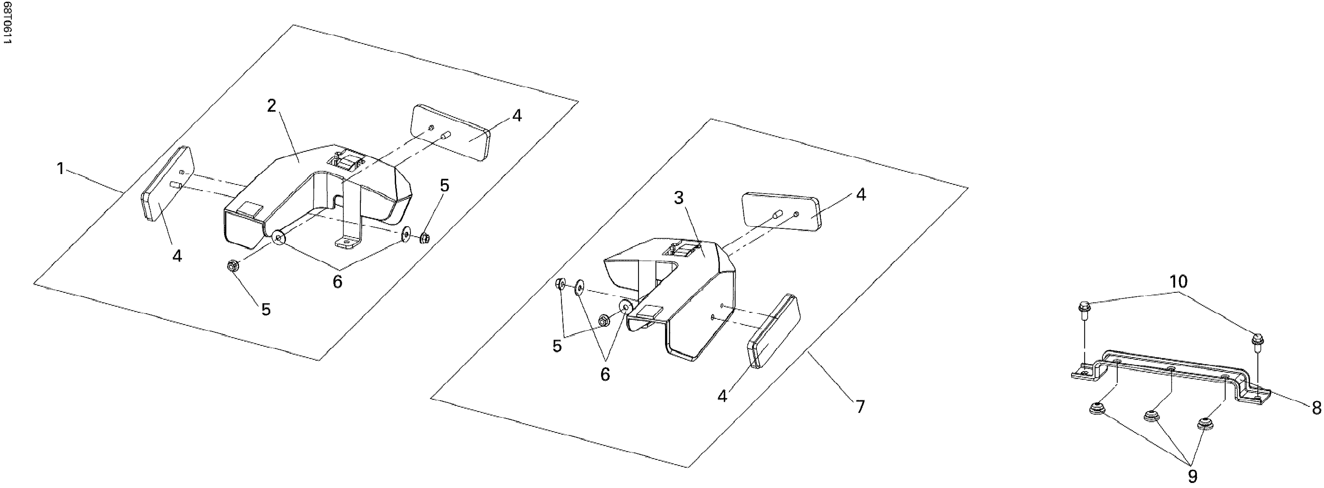
Can-Am DS 250 NA / Inter, 2006 Rear Reflectors Diagram

#

Description
Price

1

RH Reflector Set

S8330ARCB000

Unavailable

2

Not Available As Spare Parts

NASP/NDPR

Unavailable

3

Not Available As Spare Parts

NASP/NDPR

Unavailable

4

Reflector

S33741M9A000

$19.49

5

Flanged Nut 5 mm

S9405005000

$1.49

6

Washer

S9410305800

$5.50

7

LH Reflector Set

S8330BRCB000

Unavailable

8

BATTERY BAND - Call your local BRP dealership

S5032ARCA000

$18.49

9

BATTERY BAND - Call your local BRP dealership

S5032ARCA000

$18.49

10

Washer Bolt M6 X 16

S934040601607

$1.49