Partiron

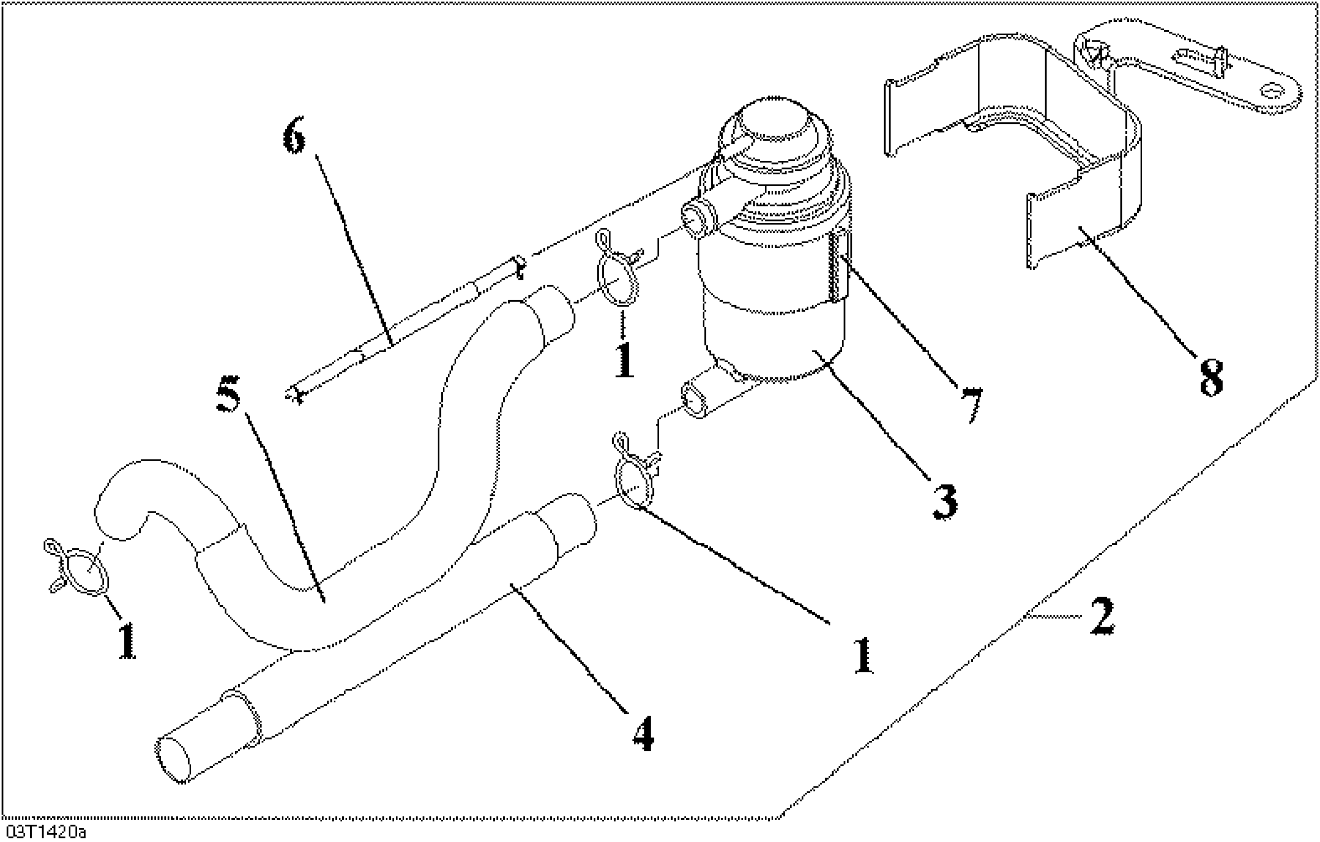
Can-Am DS 250 NA, EUR & INT, 2014 Air Injection System North America Diagram

#

Description
Price

1

CLIP - Call your local BRP dealership

S18533634670

Unavailable

2

A.I.C.V Unit | North America

S1865ARCB000

$88.99

3

Tank

S18650HMA000

$409.99

4

Tube

S18655RCA000

$17.04

5

Tube

S18656RCA000

$22.49

6

Tube

S18657RCB000

$12.71

7

Setting Band

S18811N14000

$8.29

8

Tank Support

S18659RCA000

$16.49