Partiron

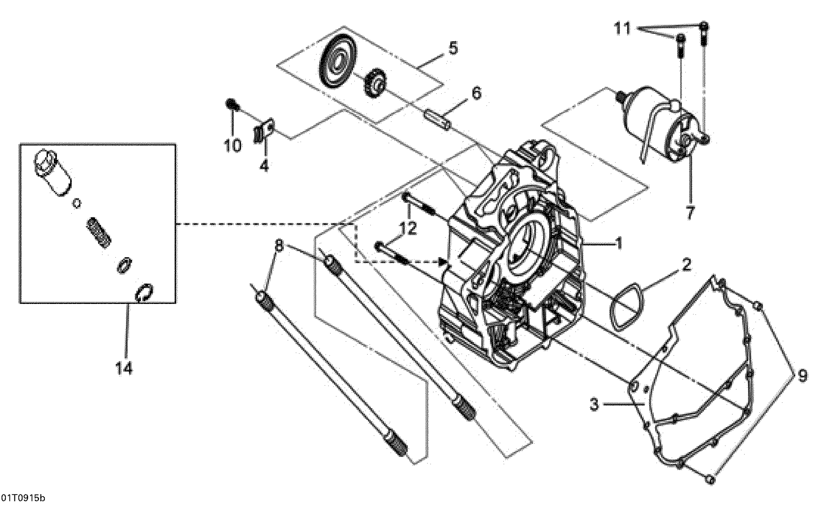
Can-Am DS 250 NA, CE & INT, 2009 Right Crankcase Half Diagram

#

Description
Price

1

RH Crankcase Ass'y

S11100RB1000

$404.49

2

Wave Washer

S11108HMA000

$2.20

3

Crankcase Gasket This part replaces S11191RB1000.

S11191RB1005

$8.85

4

Cam Chain Setting Plate

S14151HMA000

$4.14

5

Starter Reduction Gear Ass'y

S28101RB1000

$50.99

6

Starter Reduction Gear Shaft

S28102RB1000

$8.43

7

Starter Motor

S31200RB1000

$265.99

8

Cylinder Stud

S90031HMA000

$13.24

9

Dowel Pin

S9430108140

$2.57

10

Flanged Bolt M6 X 10

S960010601008

Unavailable

11

Flanged Bolt M6 X 22

S960010602200

$0.42

12

Flange Bolt M6 X 55

S960010605500

$0.77

14

Oil Relief Valve Ass'y

S15200HMA000

$15.87