Partiron

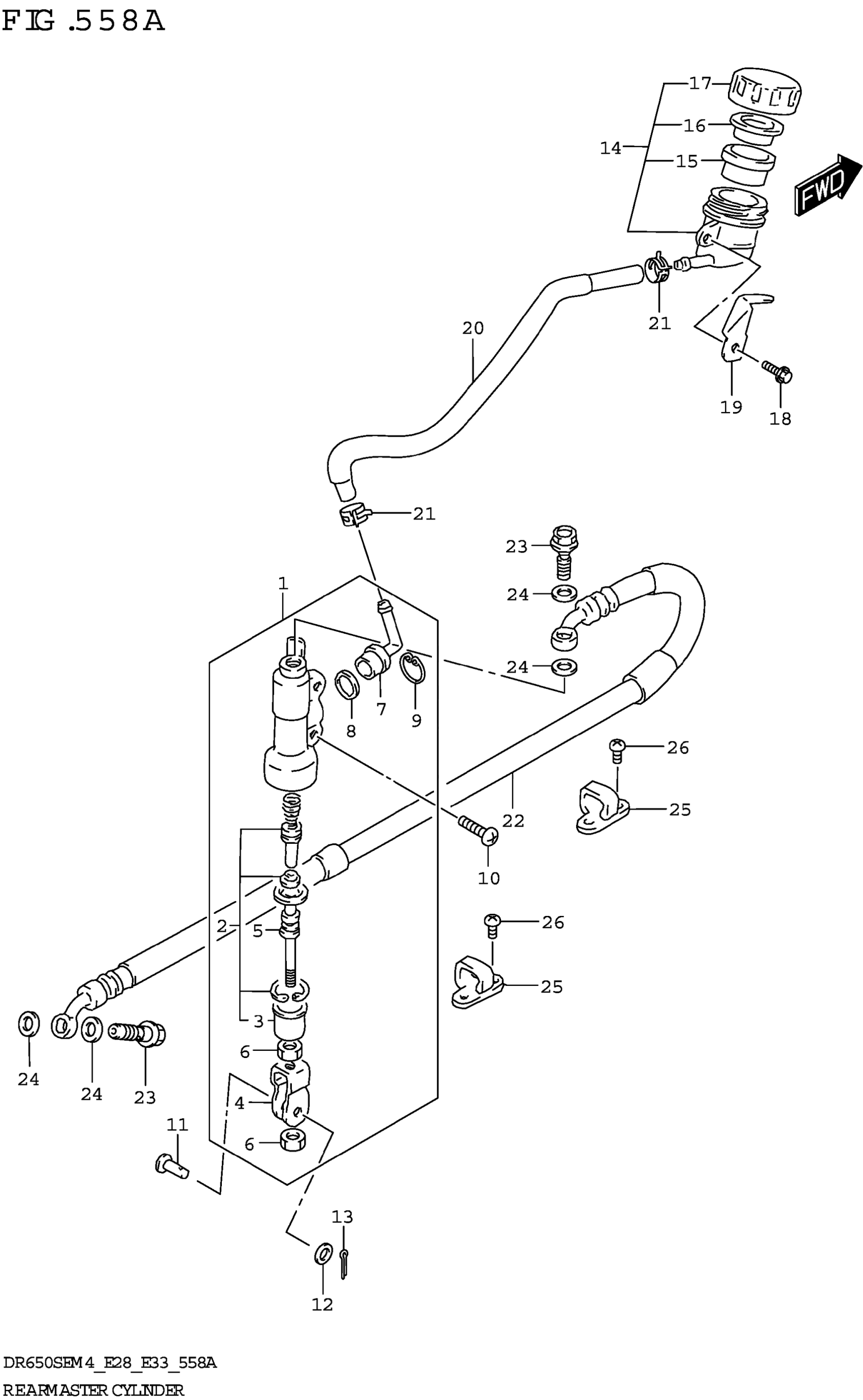
Suzuki DR650SEM4 (2024) REAR MASTER CYLINDER Diagram

#

Description
Price

1

CYLINDER ASSY,REAR MASTER

69600-32E00

$312.98

2

.PISTON/CUP SET

69600-04821

$32.27

3

.BOOT

69691-04A00

$5.17

4

.YOKE

69692-13E00

$16.65

5

.ROD,PUSH

69670-27A30

$26.23

6

NUT This part replaces 69693-24A00.

69693-05A00

$1.96

7

.CONNECTOR

69672-00B20

$7.01

8

.O-RING

69686-34200

$2.93

9

.CIRCLIP

69674-00B20

$3.97

10

SCREW(6X16) This part replaces 09139-06024.

09139-06237

$2.38

11

PIN (8X20)

09200-08048

$2.92

12

WASHER (8.5X14X1.6)

09160-08090

$2.39

13

PIN

04111-2015A

$1.49

14

TANK ASSY,REAR BRAKE RESERVOI

69740-03D00

$75.90

15

.DIAPHRAGM

69667-00B20

$15.68

16

.PLATE

69668-00B20

$7.67

17

.CAP

69669-03D00

$22.65

18

BOLT

01550-0616A

$1.97

19

GUARD,RSVR TANK CAP

69743-14D10

$6.88

20

HOSE,RESERVOIR TANK

69730-32E00

$49.22

21

CLIP (ID:12)

09401-12404

$2.34

22

HOSE,REAR BRAKE

69480-32E02

$64.22

23

UNION (10X1.25X22)

09360-10062

$6.43

24

WASHER (10X15X1.5)

09161-10009

$1.84

25

GUIDE RR BRAKE (HOLE 1-5.5)

61196-27C50

$6.17

26

SCREW This part replaces 02142-0510A.

02142-0510B

$1.78