Partiron

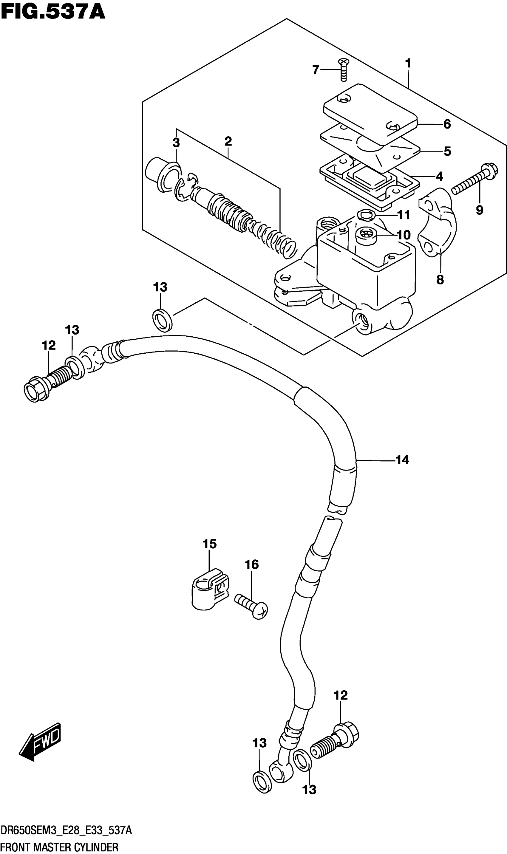
Suzuki DR650SEM3 (2023) FRONT MASTER CYLINDER Diagram

#

Description
Price

1

CYLINDER ASSY, FRONT MASTER

59600-31D50

$247.27

2

.PISTON/CUP SET

59600-04810

$45.20

3

..BOOT

59666-44300

$5.80

4

.DIAPHRAGM

59667-04700

$9.78

5

.PLATE,DIAPHRAGM

59668-14F00

$11.60

6

.CAP

59669-14F10

$20.40

7

.SCREW

69689-49300

$1.91

8

.HOLDER

59671-36500

$12.21

9

.BOLT (6X22)

59675-02FA0

$3.82

10

.SEPARATOR

59748-15400

$9.38

11

.PLATE

59749-15400

$2.79

12

UNION (10X1.25X22)

09360-10062

$6.43

13

WASHER (10X15X1.5)

09161-10009

$1.84

14

HOSE,FRONT BRAKE

59480-32E01

$150.45

15

CLAMP BRAKE HOSE

58621-07A20

$4.07

16

SCREW

02142-0620A

$1.49