- Partiron
- OEM Parts
- Suzuki
- Motorcycle
- 2015
- DR650SEL5 (2015)
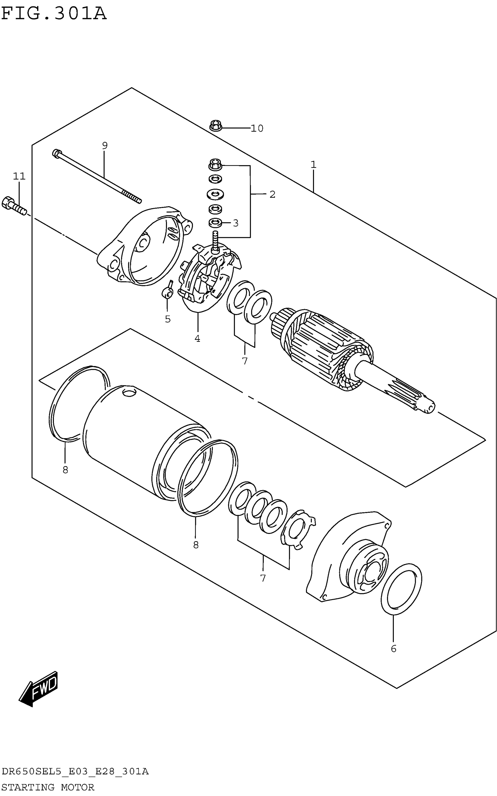
STARTING MOTOR
Suzuki DR650SEL5 (2015) STARTING MOTOR Diagram
#
Description
Price
7
WASHER SET
31170-32E00
Unavailable
STARTING MOTOR
#
7
31170-32E00
Unavailable
Edit ride
