Partiron

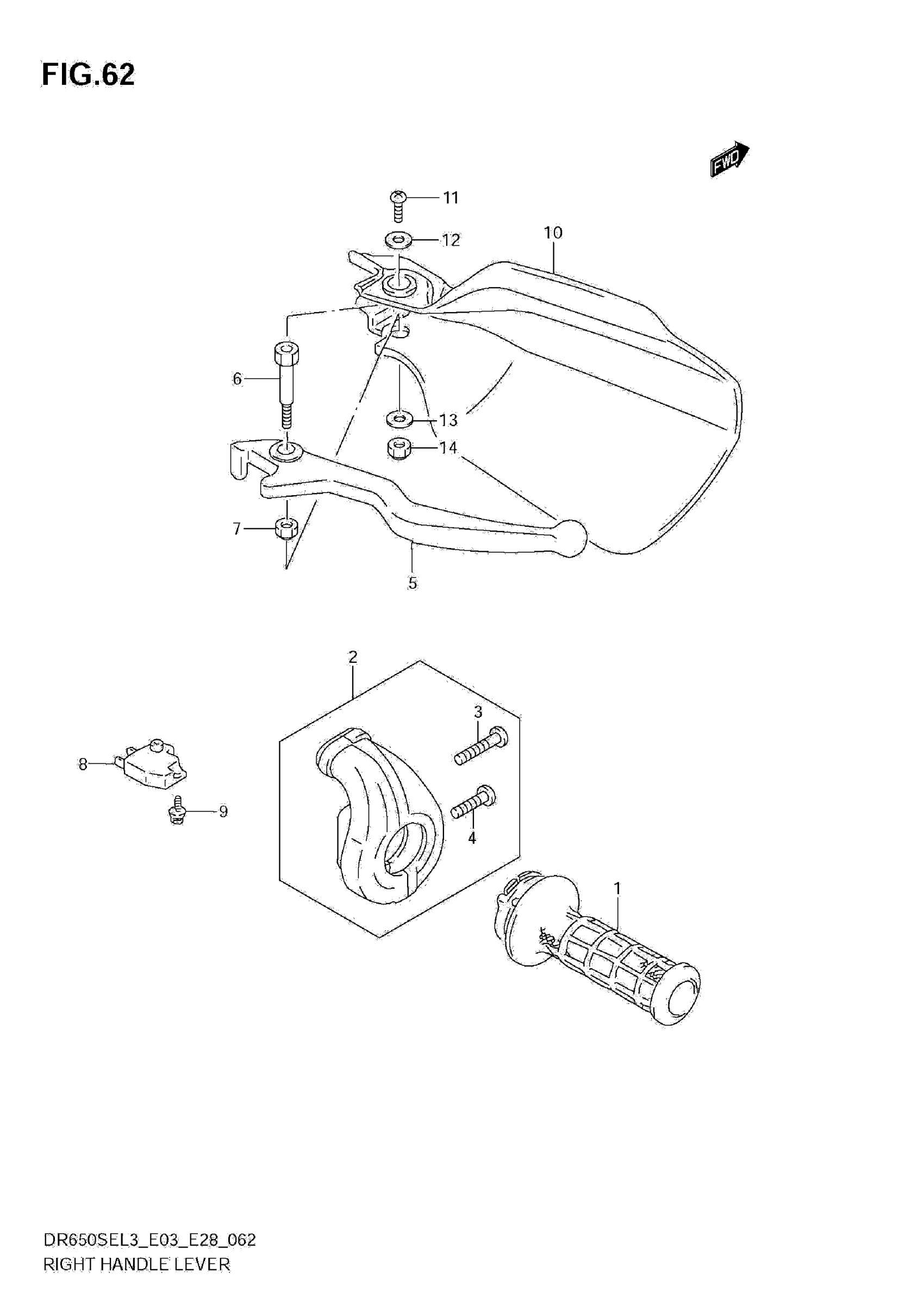
Suzuki DR650SEL3 (2013) RIGHT HANDLE LEVER Diagram

#

Description
Price

1

GRIP THROTTLE

57110-12D11

$37.11

2

CASE ASSY THROTTLE

57100-14D00

$70.49

3

SCREW

02112-0525B

$1.84

4

SCREW

02112-0520B

$1.84

5

LEVER

57421-13001

$13.33

6

BOLT

57431-05D00

$13.20

7

NUT,LEVER PIVOT

57433-09F00

$3.56

8

SWITCH ASSY,FR BRAKE This part replaces 57460-14J01.

57460-14J02

$38.46

9

SCREW

57465-17C00

$2.19

10

COVER,KNUCKLE RH (WHITE)

57341-05D10-30H

$45.37

10

COVER,KNUCKLE RH (GRAY)

57341-05D10-YUD

$49.10

11

SCREW

02142-0510B

$1.78

12

WASHER (5.5X16X1.2)

09160-05043

$2.30

13

.WASHER (6.5X16X1.6)

09160-06130

$1.91

14

NUT

08319-2106A

$1.91