Partiron

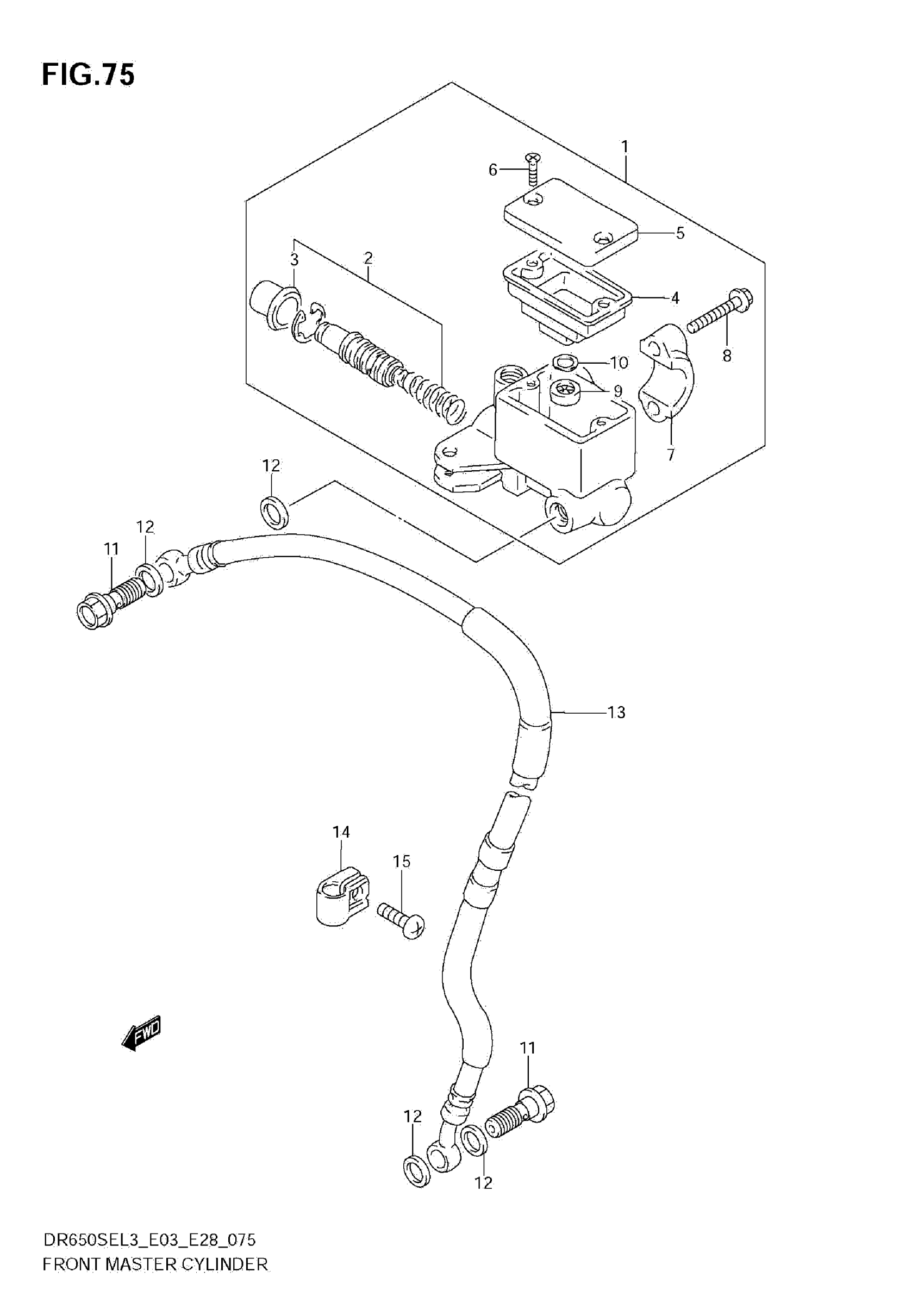
Suzuki DR650SEL3 (2013) FRONT MASTER CYLINDER Diagram

#

Description
Price

1

CYLINDER ASSY, FRONT MASTER

59600-31D01

$251.47

2

PISTON/CUP SET

59600-04810

$45.20

3

BOOT

59666-44300

$5.80

4

DIAPHRAGM

59667-44B00

$9.78

5

CAP

69669-24A01

$15.10

6

SCREW

69689-49300

$1.91

7

.HOLDER

59671-36500

$12.21

8

BOLT

59675-02FA0

$3.82

9

SEPARATOR

59748-15400

$9.38

10

PLATE

59749-15400

$2.79

11

UNION

09360-10062

$6.43

12

WASHER (10X15X1.5)

09161-10009

$1.84

13

HOSE,FRONT BRAKE

59480-32E01

$150.45

14

CLAMP BRAKE HOSE

58621-07A20

$4.07

15

SCREW

02142-0620B

$1.80