Partiron

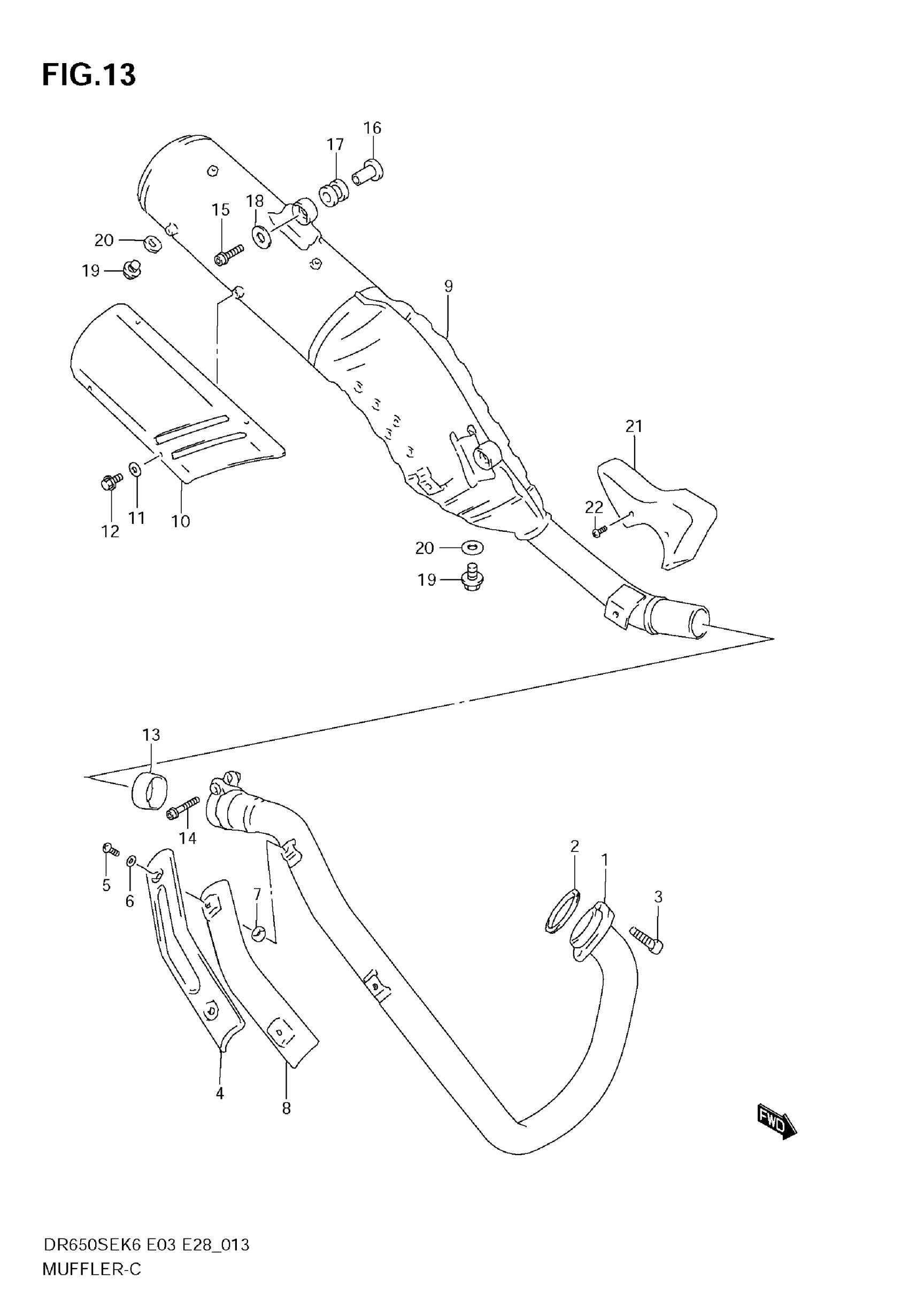
Suzuki DR650SE (2009) MUFFLER Diagram

#

Description
Price

1

PIPE, EXHAUST This part replaces 14150-32E10.

14150-32E11

$382.13

2

.GASKET,EXHAUST PIPE

14181-22D01

$10.11

3

BOLT

07130-0825B

$3.37

4

COVER,EXH PIPE

14180-32E00

$40.68

5

BOLT (6X12)

09139-06091

$3.04

6

WASHER

09160-06082

$1.49

7

GASKET (6X16X1.4)

09168-06122

$2.73

8

COVER,EXH PIPE INNER

14186-32E00

$15.53

9

BODY,MUFFLER (BLACK,MAROON,SI

14310-32E31-H01

$1,049.65

10

COVER,MUF

14781-32E00

$70.53

11

WASHER

09160-06082

$1.49

12

BOLT (6X10)

09139-06078

$2.79

13

CONNECTOR

14771-32E00

$21.84

14

BOLT

07120-0840B

$3.82

15

BOLT (8X22)

09106-08131

$3.55

16

SPACER (8.6X12X17.5)

09180-08151

$5.18

17

CUSHION

09320-12043

$7.98

18

WASHER (8.5X28X1.6)

09160-08135

$2.35

19

PLUG, DRAIN

09247-12103

$2.84

20

GASKET

09168-12002

$1.59

21

COVER, CONNECTOR CLAMP This part replaces 14782-32E00.

14782-32E01

$36.42

22

SCREW (6X10)

09139-06078

$2.79