- Partiron
- OEM Parts
- Suzuki
- Motorcycle
- 2005
- DR650SE (2005)
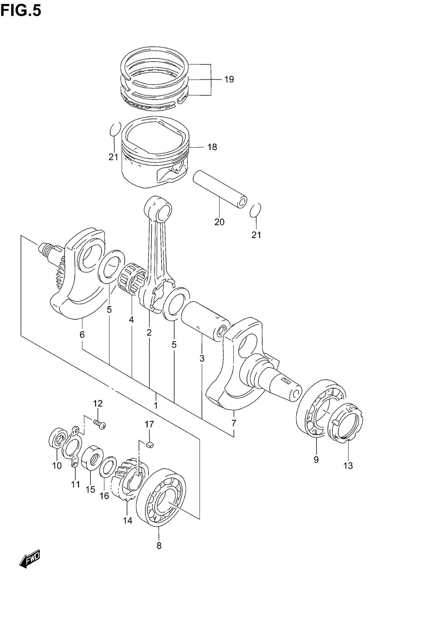
CRANKSHAFT
Suzuki DR650SE (2005) CRANKSHAFT Diagram
#
Description
Price
6
CRANKSHAFT SET, RH
12221-32810
Unavailable
7
CRANKSHAFT, LH
12261-32E00
Unavailable
