- Partiron
- OEM Parts
- Suzuki
- Motorcycle
- 2000
- DR650SE (2000)
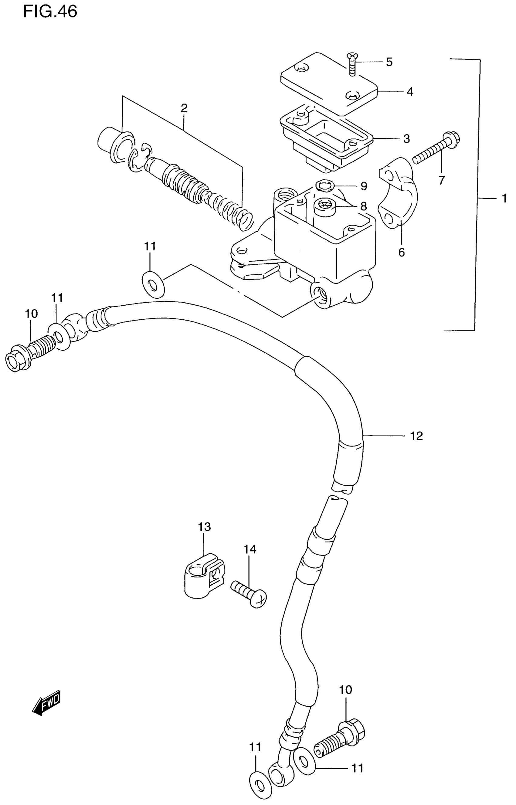
FRONT MASTER CYLINDER
Suzuki DR650SE (2000) FRONT MASTER CYLINDER Diagram
#
Description
Price
1
CYLINDER ASSY, FRONT MASTER | Includes Item(s) 2 - 9 This part replaces 59600-31D00.
59600-31D01
$251.47
