- Partiron
- OEM Parts
- Suzuki
- Motorcycle
- 2000
- DR650SE (2000)
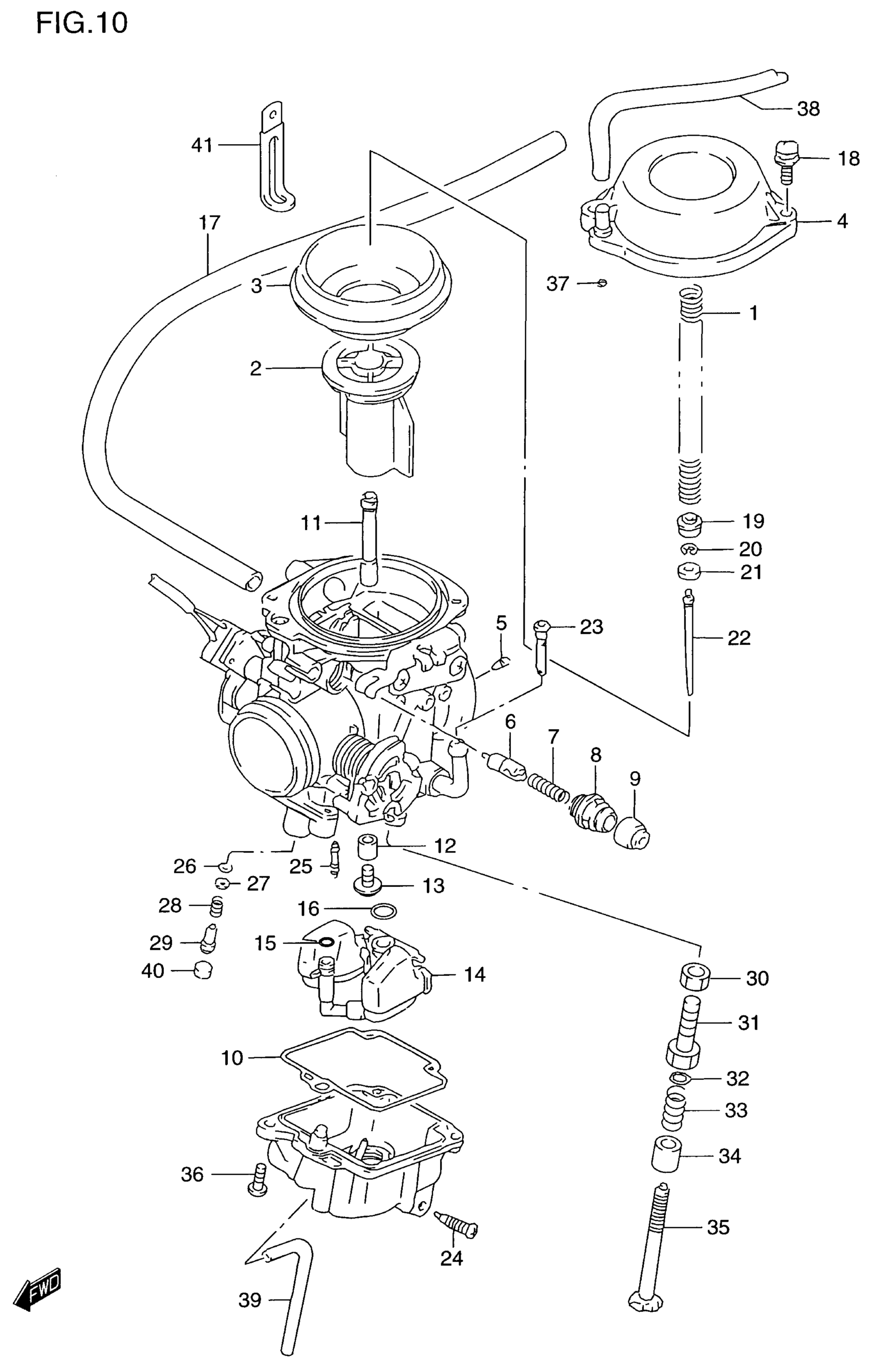
CARBURETOR
Suzuki DR650SE (2000) CARBURETOR Diagram
#
Description
Price
CARBURETOR ASSY | MODEL T E28
13200-32E50
Unavailable
11
JET, NEEDLE (Y-5) | MODEL T E28
09494-00882
Unavailable
22
NEEDLE, JET (6F19-3) | MODEL T E28
13383-32E00
Unavailable
38
HOSE(4.5X8.5X60 | L:600(r)250 MODEL V/W/X/Y This part replaces 09355-45855-600.
09355-45001-600
$9.48
39
HOSE (3X5X425) | MODEL T E28
13684-32E00
Unavailable
39
HOSE (3X5X425) | E33 ~E.NO.107127
13684-32E00
Unavailable
