- Partiron
- OEM Parts
- Suzuki
- Motorcycle
- 1995
- DR250SES (1995)
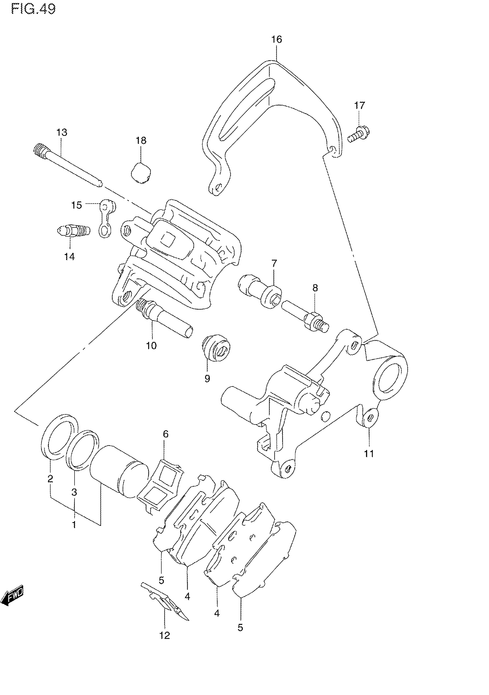
REAR CALIPER (MODEL L/M)
Suzuki DR250SES (1995) REAR CALIPER (MODEL L/M) Diagram
#
Description
Price
CALIPER ASSY, REAR | Includes Item(s) 1 - 15
69100-15D00
Unavailable
3
SEAL, DUST
59108-17C00
Unavailable
11
BRACKET
69351-27C00
Unavailable
12
RETAINER
69113-27C00
Unavailable
16
GUARD, CALIPER
69725-27C20
Unavailable
18
COVER, CALIPER BODY
69171-14D00
Unavailable
19
REFER TO FIG.49A(I- 5) FOR
SPECIAL NOTE
Unavailable
