- Partiron
- OEM Parts
- Suzuki
- Motorcycle
- 2019
- DR200SL9 (2019)
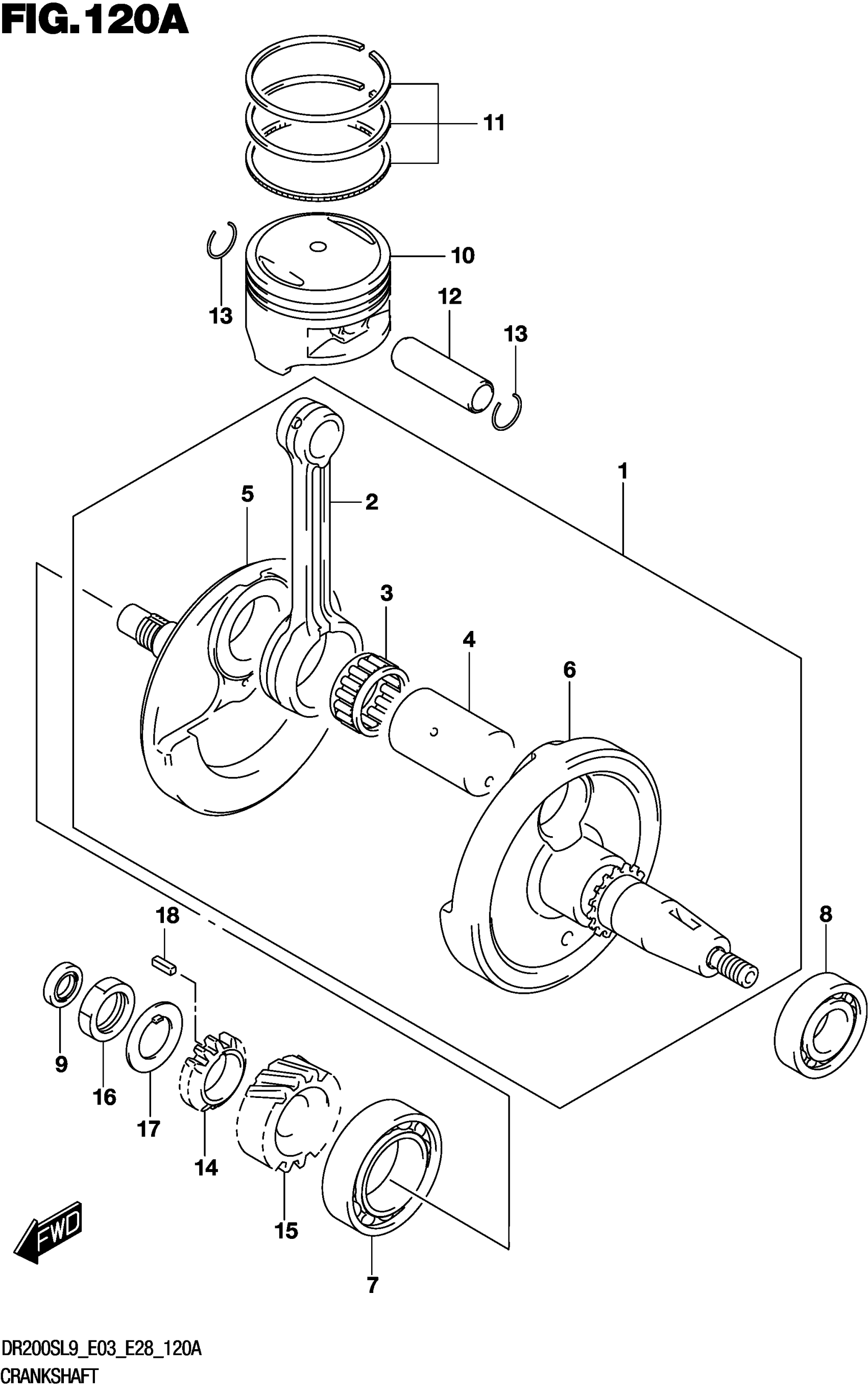
CRANKSHAFT
Suzuki DR200SL9 (2019) CRANKSHAFT Diagram
#
Description
Price
5
.CRANKSHAFT RH
12221-42A02
Unavailable
6
.CRANKSHAFT LH
12261-42A20
Unavailable
14
GEAR
16321-42A00
Unavailable
15
GEAR
21111-42A01
Unavailable
