- Partiron
- OEM Parts
- Suzuki
- Motorcycle
- 2018
- DR200SL8 (2018)
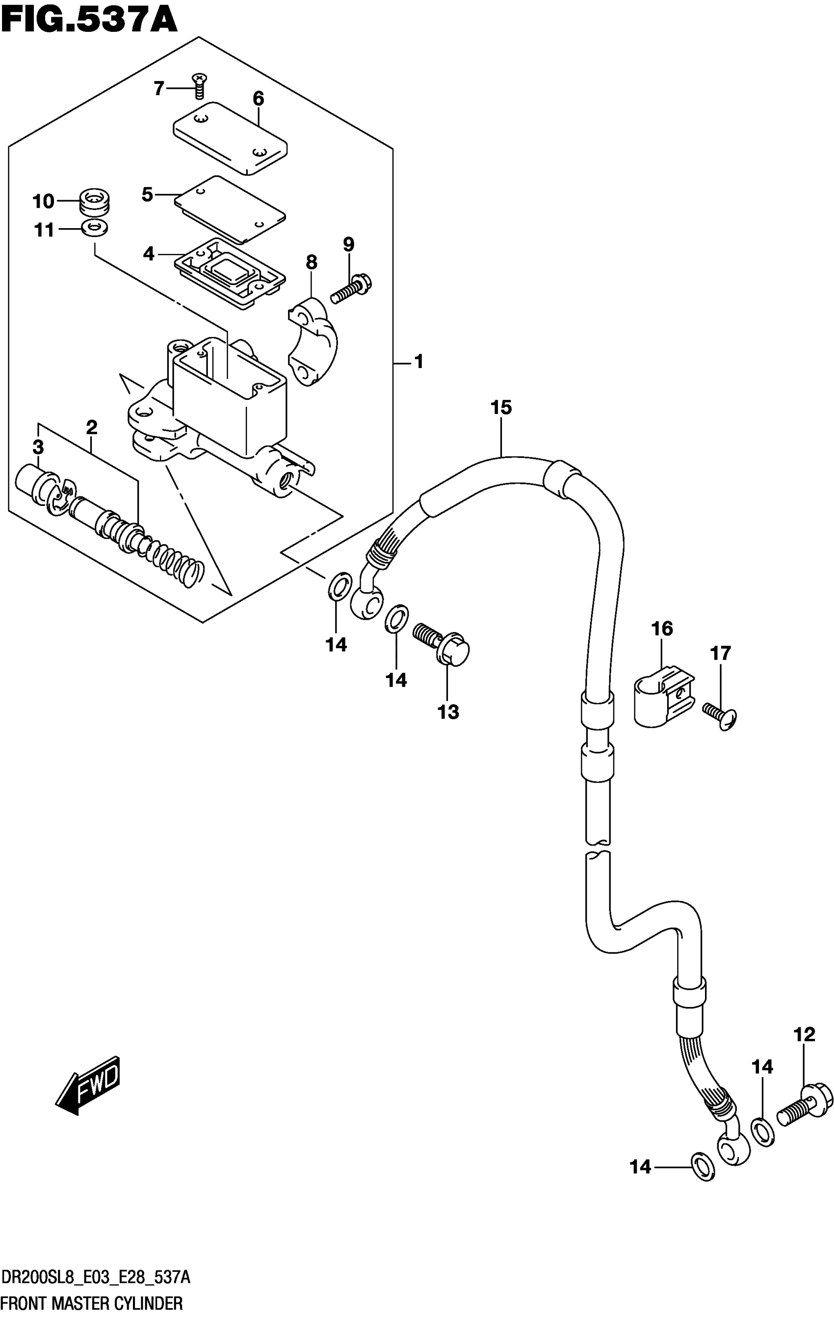
FRONT MASTER CYLINDER
Suzuki DR200SL8 (2018) FRONT MASTER CYLINDER Diagram
#
Description
Price
15
HOSE
59480-49J00
Unavailable
16
CLAMP
59245-49J00
Unavailable
