- Partiron
- OEM Parts
- Suzuki
- Motorcycle
- 2016
- DR200SL6 (2016)
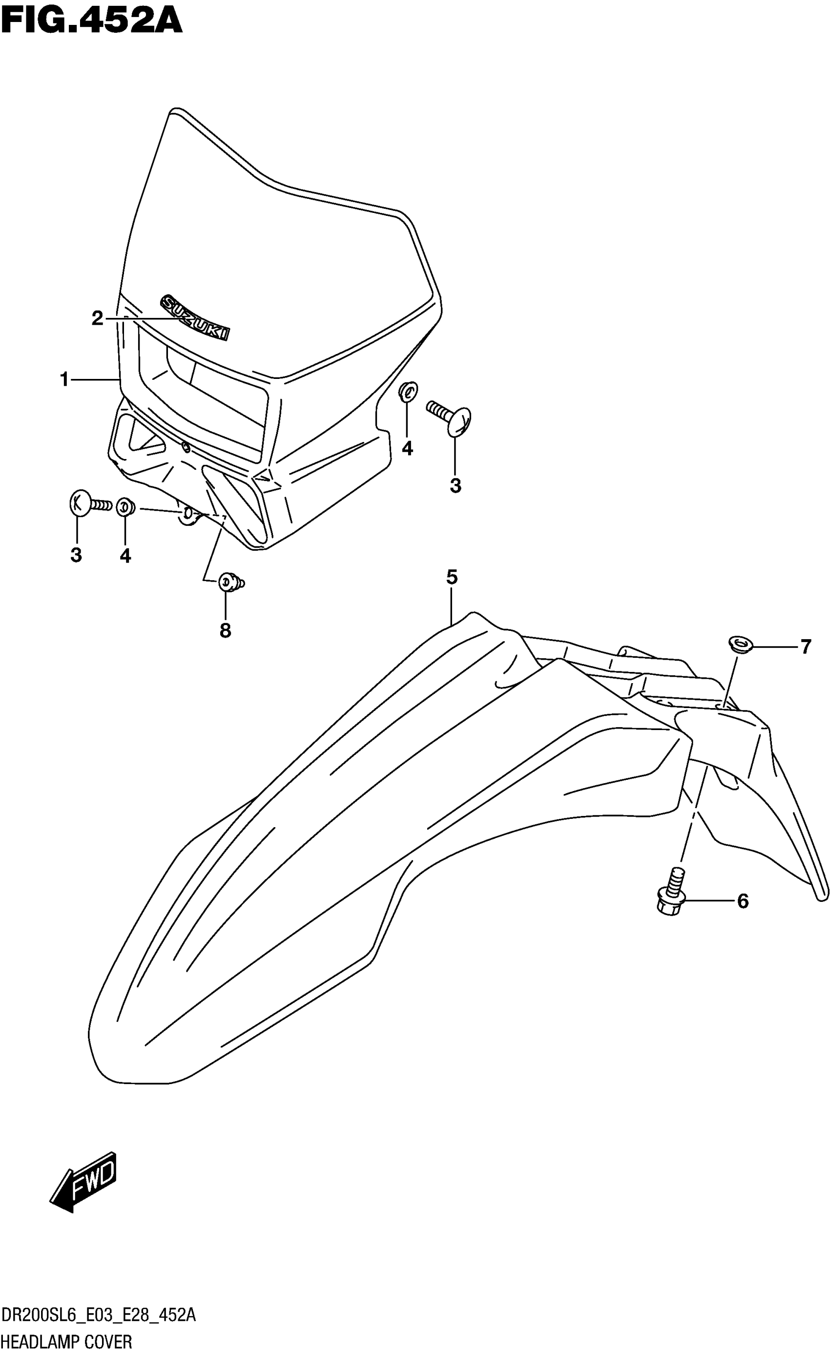
HEADLAMP COVER
Suzuki DR200SL6 (2016) HEADLAMP COVER Diagram
#
Description
Price
9
COLOR :
SPECIAL NOTE
Unavailable
9
A8W=019(BLACK),YUD(GRAY)
SPECIAL NOTE
Unavailable
