Partiron

Suzuki DR200SL6 (2016) BATTERY Diagram

#

Description
Price

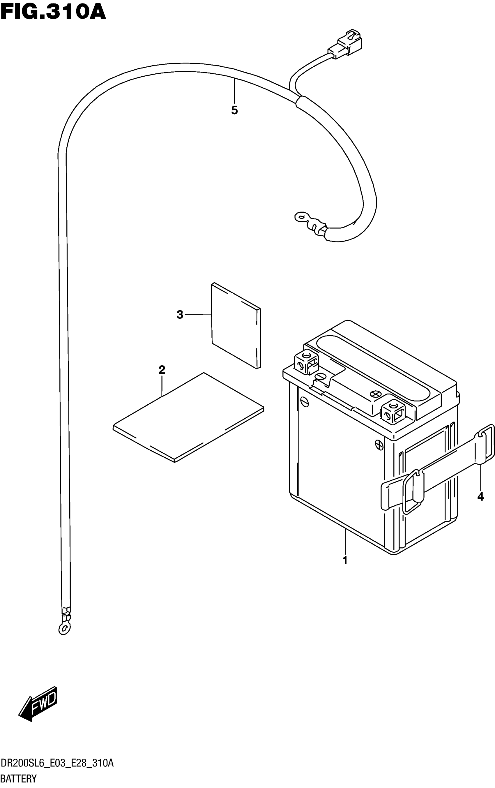
1

BATTERY ASSY

33610-15D20

$76.28

1

(YTX7L-BS, 12V6AH)

33610-15D20

$76.28

2

PROTECTOR (40X85X3)

33652-28C00

Unavailable

3

PROTECTOR (30X50X3)

33652-36000

$2.30

4

BAND

09462-00093

$9.24

5

WIRE,BATTERY MI This part replaces 33860-44A00.

33860-44A01

$25.55