- Partiron
- OEM Parts
- Suzuki
- Motorcycle
- 2015
- DR200SL5 (2015)
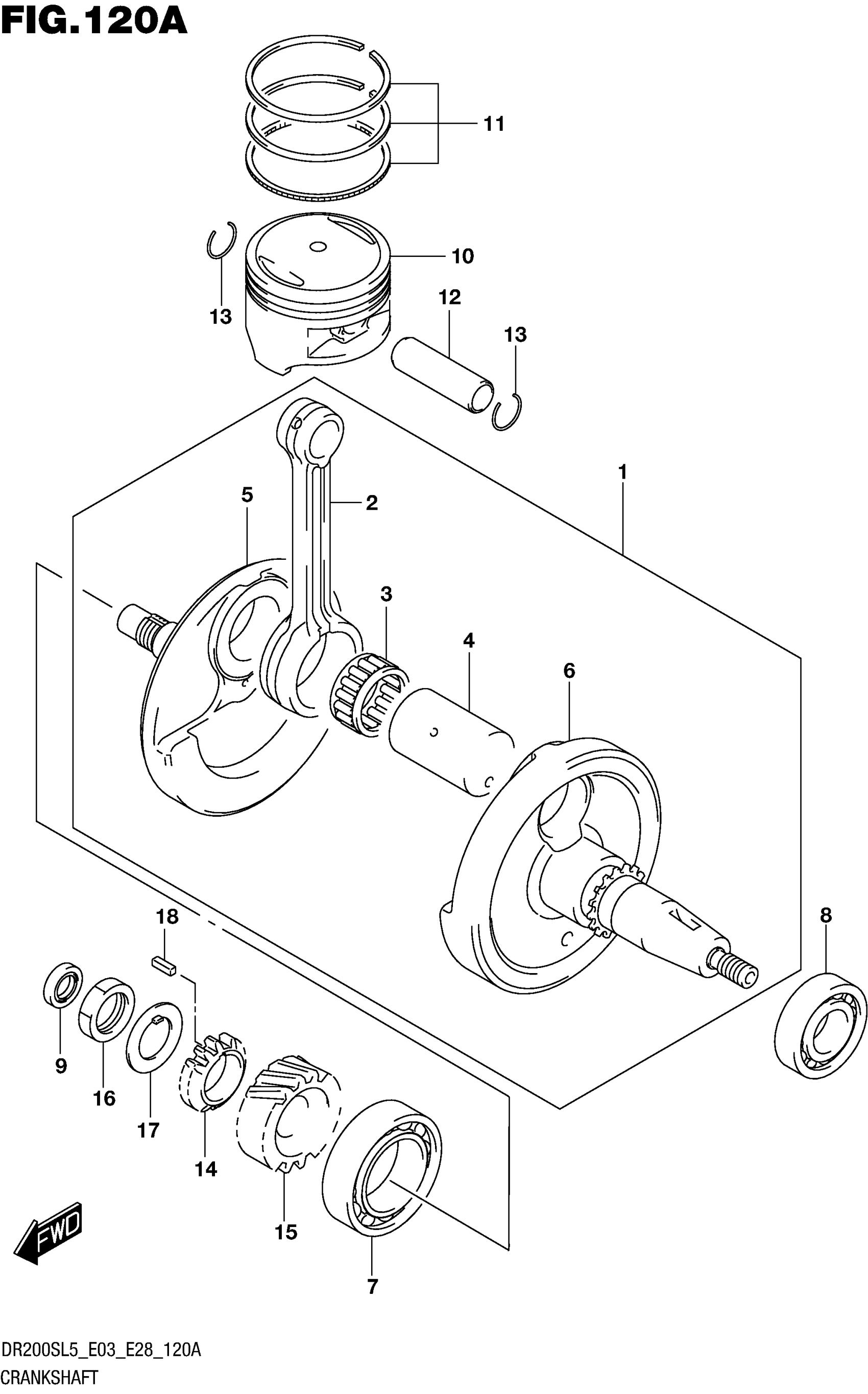
CRANKSHAFT
Suzuki DR200SL5 (2015) CRANKSHAFT Diagram
#
Description
Price
5
CRANKSHAFT, RH
12221-42A02
Unavailable
6
CRANKSHAFT, LH
12261-42A20
Unavailable
14
GEAR, OIL PUMP DRIVE (NT:15)
16321-42A00
Unavailable
15
GEAR, PRIMARY DRIVE (NT:19)
21111-42A01
Unavailable
