- Partiron
- OEM Parts
- Suzuki
- Motorcycle
- 2013
- DR200SE (2013)
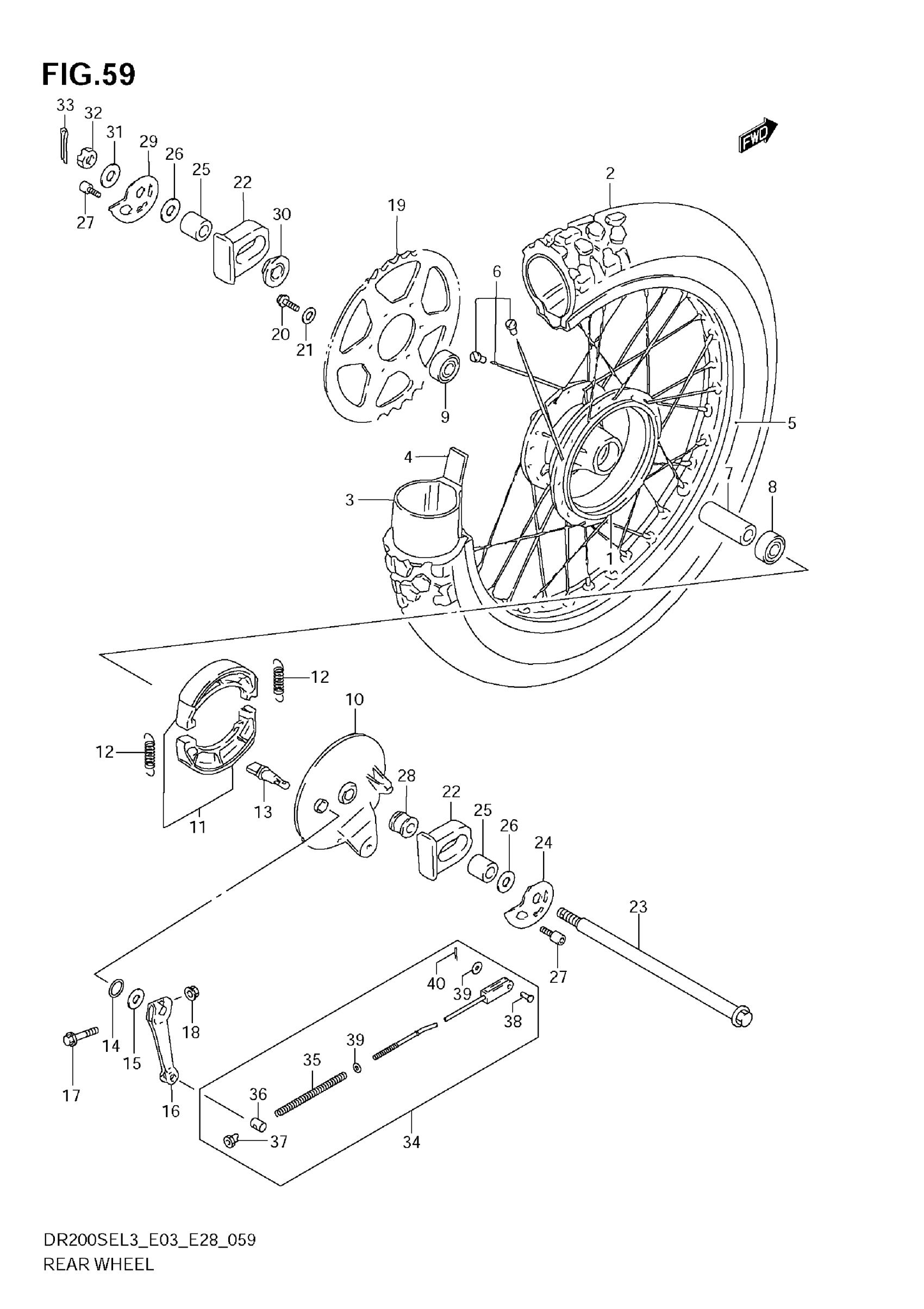
REAR WHEEL
Suzuki DR200SE (2013) REAR WHEEL Diagram
#
Description
Price
1
HUB, REAR WHEEL
64110-44A10
Unavailable
4
PROTECTOR, WHEEL INNER TUBE
65261-29231
Unavailable
